EasyManua.ls Logo

SPX S2045 - Page 24

SPX S2045
78 pages
Print Icon
To Next Page IconTo Next Page
To Next Page IconTo Next Page
To Previous Page IconTo Previous Page
To Previous Page IconTo Previous Page
Loading...
Installation Waukesha Cherry-Burrell
Page 24 95-03080 12/2010
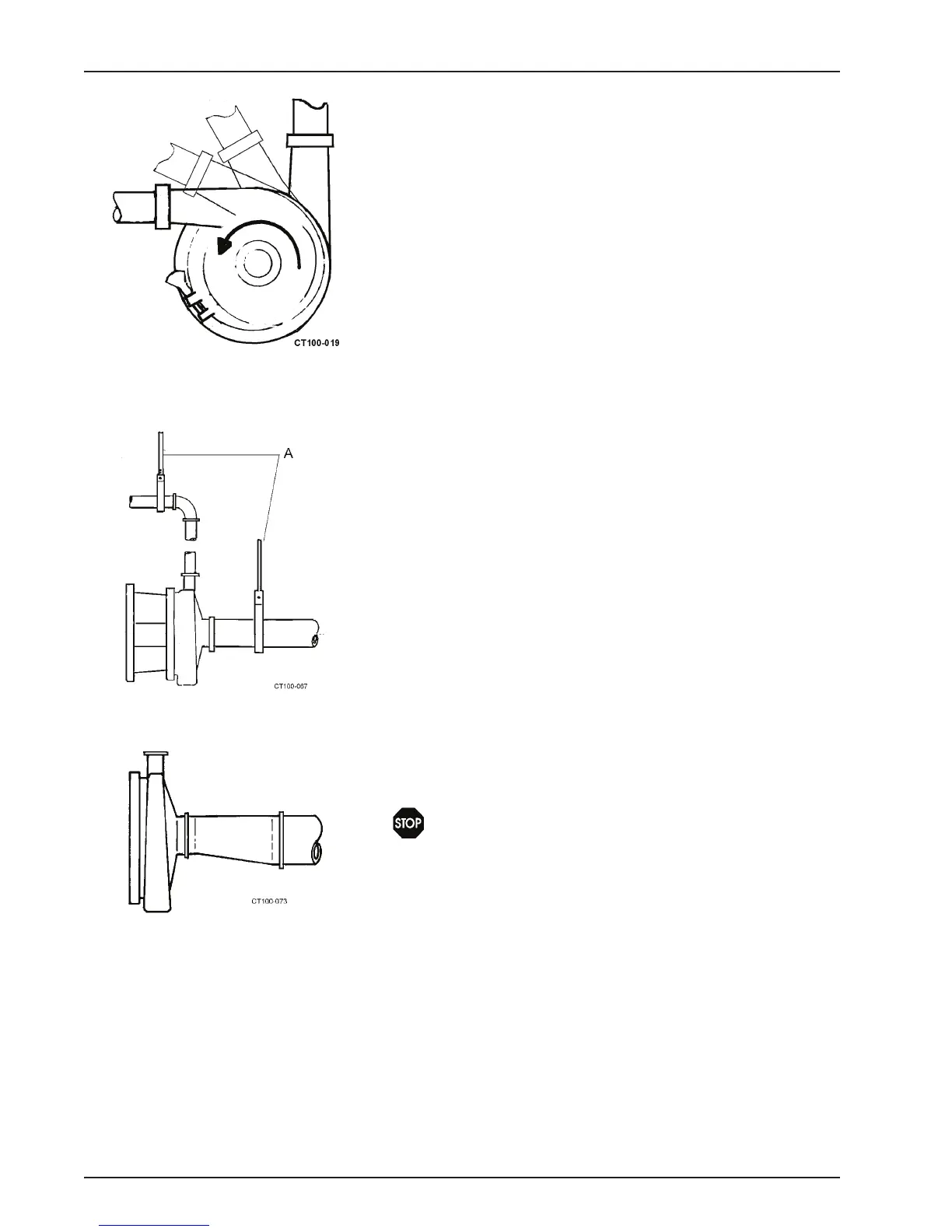
5. The pump casing may be rotated with the discharge connec-
tion pointing in any direction. The best pump performance will
be with the outlet up, to the left, or positions in between;
these positions ensure a flooded casing and prevent prob-
lems due to air in the system. See Figure 15.
6. All joints in the suction line must be well-sealed to prevent air
from being sucked into the system.
7. Support the supply and discharge piping near the pump so
that no strain is put on the pump casing.
8. If an expansion joint is used, install a pipe anchor between
the joint and the pump.
.
9. If a reducer is connected to the inlet, use an eccentric-type
reducer to prevent problems due to trapped air. See Figure
17.
DANGER:
The pump and piping may contain sharp edges.
Wear gloves while installing and servicing the pump to help
avoid injuries from these hazards.
10. The line slope will depend on application requirements; the
best pump operation is with supply line sloped slightly
upward toward the pump to prevent trapping air. If the system
must drain into the pump casing, keep the downward slope to
a minimum or priming problems may occur.
11. Install shutoff valves to isolate the pump from the supply and
discharge lines
. This will allow the pump to be serviced with-
out draining the system.
Figure 15 - Recommended Discharge
Positions
Figure 16 - Pipe Supports
Figure 17 - Correct Eccentric Installation

Table of Contents

Related product manuals