EasyManua.ls Logo

Still LTX 80 - Commissioning a Tow Tractor Equipped with the Fleetmanager Option

Still LTX 80
186 pages
Print Icon
To Next Page IconTo Next Page
To Next Page IconTo Next Page
To Previous Page IconTo Previous Page
To Previous Page IconTo Previous Page
Loading...
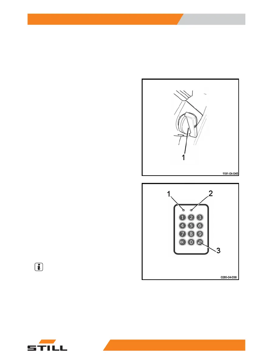
Commissioning a tow tractor equip-
ped with the FleetManager™ option
Commissioning a tow tractor equipped
with a keypad or an electronic key
Turn the turning knob (1) clockwise.
Enter the PIN code on the keypad. The PIN
code consists of five to eight digits.
By default, no PIN code is given as a factory
setting.
If the PIN code is correct, the LED (1) is not lit.
The LED (2) flashes slowly at two-second in-
tervals (green colour).
No acoustic signal sounds.
Press the Enter key (3) to confirm.
The tow tractor is now ready for use.
NOTE
In the configuration, the fleet manager can
specify that the operator must enter a prelimi-
nary code when logging in. The operator can
then assess the state of the tow tractor.
Use
4
Operating the FleetManager™ option
611191 801 15 51 EN - 02/2021 - 10

Table of Contents

Related product manuals