EasyManua.ls Logo

Subaru 2012 Impreza - Repeating; Random Playback

Subaru 2012 Impreza
447 pages
Print Icon
To Next Page IconTo Next Page
To Next Page IconTo Next Page
To Previous Page IconTo Previous Page
To Previous Page IconTo Previous Page
Loading...
Black plate (246,1)
Model "A1120BE-B" EDITED: 2011/ 10/ 28
5-20 Audio
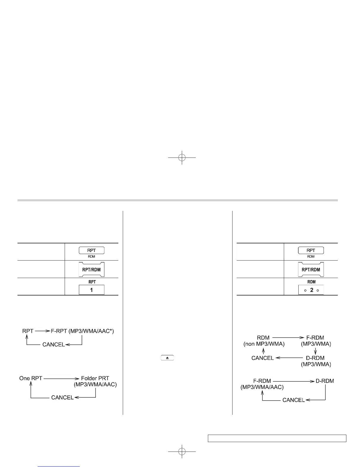
& Repeating
To repeat a track, briefly press the follow-
ing button (RPT button) while the track is
playing.
Type A audio
Type B audio
Type C audio
Each time you briefly press the button, the
mode changes in the following se-
quences.
Type A and B audio:
*: Type B audio only
Type C audio:
NOTE
. The RPT (type A and B audio)/
One PRT (type C audio) indication
refers to the repeat playback of a single
track. It repeats the track that is play-
ing.
. The F-RPT (type A and B audio)/
Folder RPT (type C audio) indication
refers to the repeat playback of a folder.
It repeats the all of the tracks in the
folder. It i s poss ible to select the
function when the MP3/WMA/AAC for-
mat track is playing.
To cancel the track repeat-play mode,
briefly press the RPT button and select
CANCEL. The RPT indication will turn
off, and the normal playback mode will be
resumed.
NOTE
The repeat-play mode will be cancelled
if you perform any of the following
steps.
. Press the
button.
. Press the SCAN button (type A
and B audio).
& Random playback
To playback tracks at random, press the
following button (RDM button) while a
track is playing.
Type A audio*
1
Type B audio*
1
Type C audio*
2
*1: Press and hold the button.
*2: Press the button briefly.
Each time you press the button, the mode
changes in the following sequences.
Type A audio:
Type B audio:

Table of Contents

Other manuals for Subaru 2012 Impreza

Related product manuals