EasyManua.ls Logo

Subaru LEGACY 2002 - Page 115

Subaru LEGACY 2002
642 pages
Print Icon
To Next Page IconTo Next Page
To Next Page IconTo Next Page
To Previous Page IconTo Previous Page
To Previous Page IconTo Previous Page
Loading...
Emission Control (Aux. Emission Control Devices)
CRANKCASE EMISSION CONTROL SYSTEM
EC-7
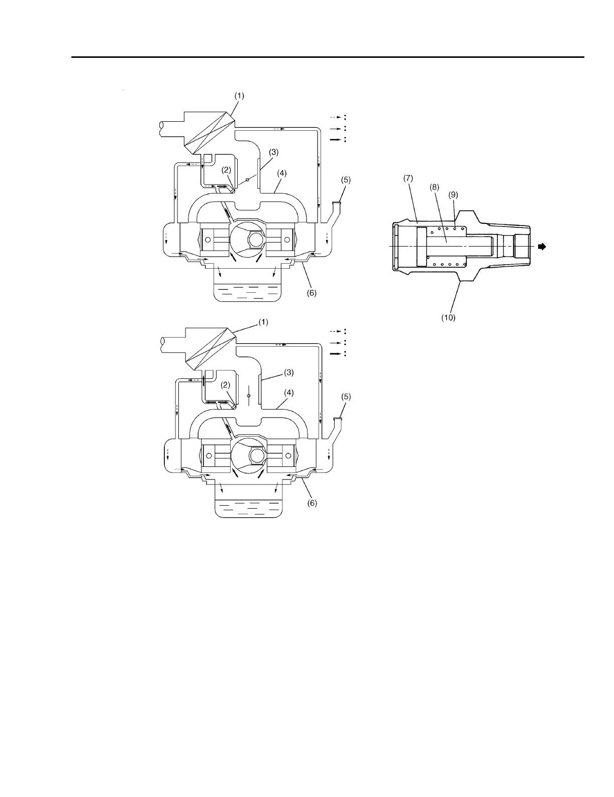
(1) Air cleaner case (6) Crankcase (A) Part-throttle condition
(2) PCV valve (7) Case (B) Wide-open-throttle condition
(3) Throttle body (8) Valve C: Fresh air
(4) Intake manifold (9) Spring D: Mixture of air and blow-by gas
(5) Oil filler cap (10) PCV valve E: Blow-by gas
(A)
(B)
C
D
E
C
D
E
B2H3534D

Table of Contents

Other manuals for Subaru LEGACY 2002

Related product manuals