EasyManua.ls Logo

TECHTOP TD350 - Page 326

TECHTOP TD350
371 pages
Print Icon
To Next Page IconTo Next Page
To Next Page IconTo Next Page
To Previous Page IconTo Previous Page
To Previous Page IconTo Previous Page
Loading...
TD350 Series VFD Extension cards
-321-
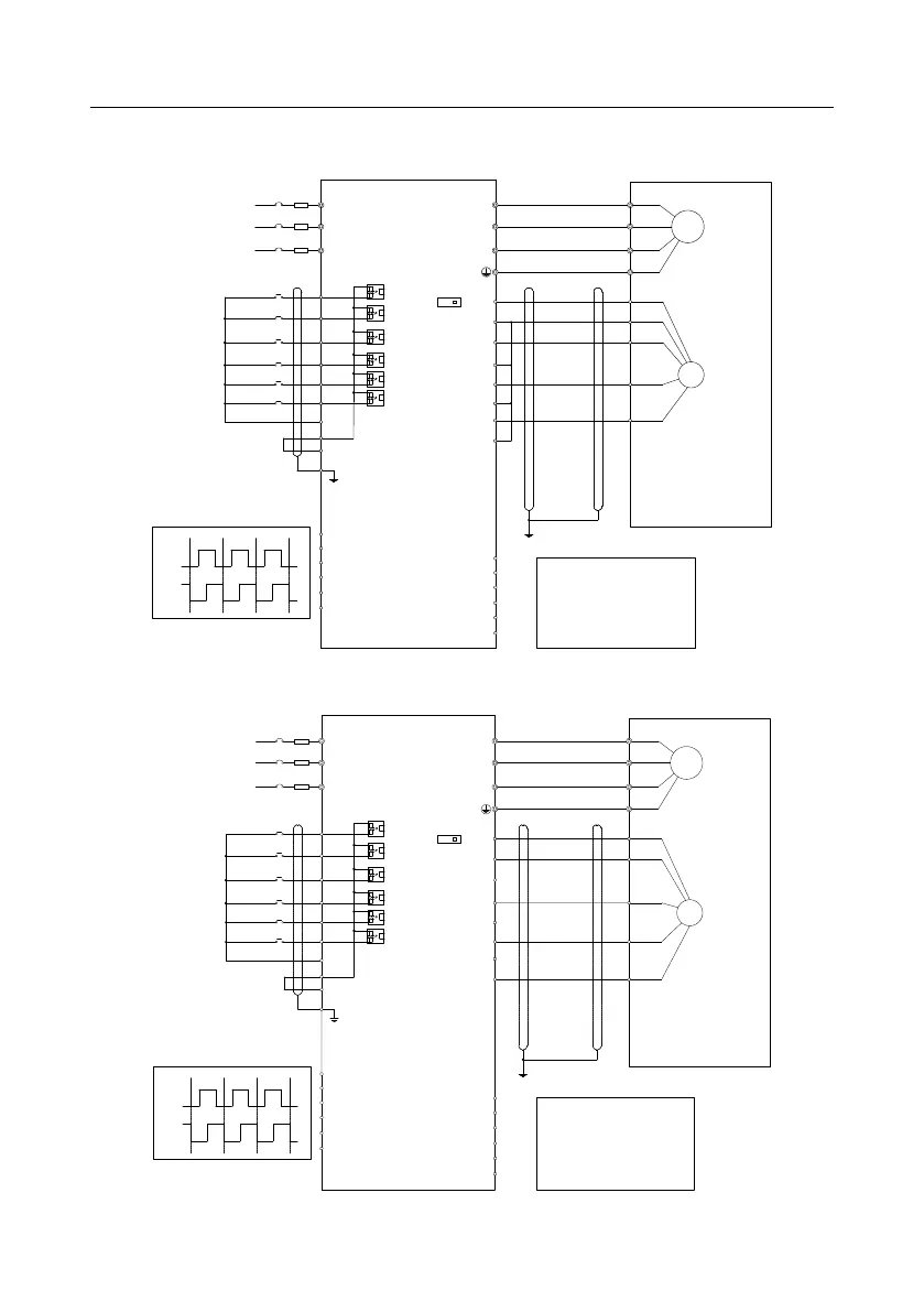
The following figure shows the external wiring of the extension card used in combination with an open
collector encoder. A pull-up resistor is configured inside the PG card.
+24V
PE
COM
S4
S3
S2
S1
HDIB
PW
HDIA
A1-
B1+
B1-
Z1+
Z1-
R
S
T
U
V
W
U
V
W
M3~
PG
AO+
AO-
BO+
BO-
ZO+
ZO-
pulse A
pulse B
A2+
A2-
B2+
B2-
Forward
jogging
Forward
running
CNC
PLC
Upper computer
A1+
Fault reset
Z2+
Z2-
PGND
PWR
5V
12V
SW1
Z
B
A
The following figure shows the external wiring of the extension card used in combination with a
push-pull encoder.
+24V
PE
COM
S4
S3
S2
S1
HDIB
PW
HDIA
A1-
B1+
B1-
Z1+
Z1-
R
S
T
U
V
W
U
V
W
M3~
PG
AO+
AO-
BO+
BO-
ZO+
ZO-
pulse A
pulse B
A2+
A2-
B2+
B2-
Forward
jogging
Forward
running
CNC
PLC
Upper computer
A1+
Fault reset
Z2+
Z2-
PGND
PWR
5V
12V
SW1
Z
B
A

Table of Contents

Other manuals for TECHTOP TD350

Related product manuals