EasyManua.ls Logo

Teletek electronics CA62 - Connecting of Detectors to CA62 Alarm Control Panel

Teletek electronics CA62
76 pages
Print Icon
To Next Page IconTo Next Page
To Next Page IconTo Next Page
To Previous Page IconTo Previous Page
To Previous Page IconTo Previous Page
Loading...
Installation and Programming Manual - СА62 Alarm Control Panel 9
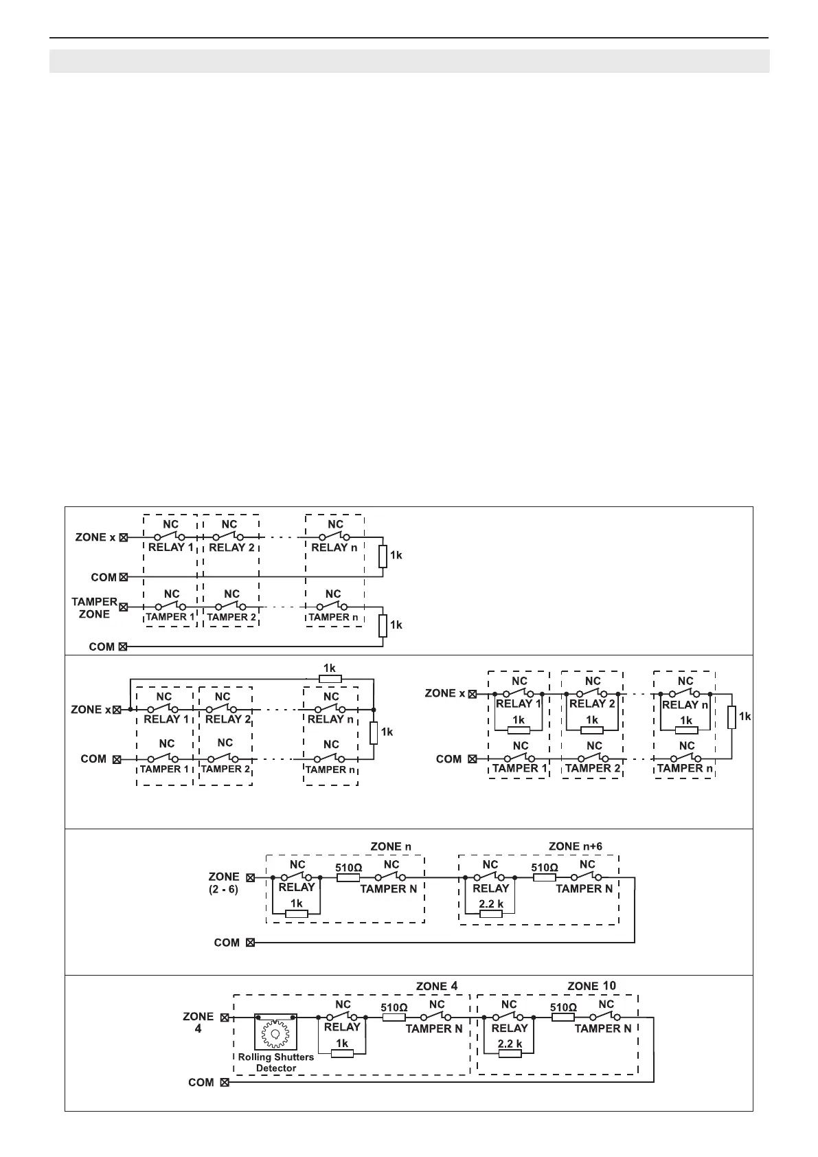
2.6 Connecting of Detectors to CA62 Alarm Control Panel
The security system is mounted with detectors with relay contacts.
Fire alarm detectors supplied with relay outputs can also be used.
There are three possible options for connecting of detectors to the CA62 zone inputs. The type of balancing for each
input is programmed separately at ADDRESSES 2zz6, where "zz" is the zone number - from 02 to 06.
The possible options for connecting the detectors and for balancing the zones are shown on Figure 6: a) Connecting
Detectors with One Balancing Resistor, b) Connecting Detectors with Two Balancing Resistors and c) Connecting De-
tectors with Three Balancing Resistors (zone doubling with connecting two groups of detectors/ zones to one input).
The zone doubling allows to the zones with numbers 2, 3, 4, 5 and 6 of СА62 control panel to be connected two groups
of detectors, as the rst group is terminated with 1 kΩ resistor, and the second - with 2.2 kΩ. When a zone doubling
is realized in the system, the number of the zone for the second group of detectors, represents the number of related
zone + 6.
Use the supplied 1 kΩ resistors to balance the zones. The balancing resistors are installed on the last detector of the
circuit. The zones, which shall not be used, are terminated with one 1 kΩ resistor at the terminals of the CA62 Control
Panel, irrespective of the chosen type of zone balancing. A second way for temporary termination of the unused zones
is as program them as 0.Unused on the respective address - see the description of ADDRESS 2010.
After the initial power up of the control panel, the zone balance type has to be programmed. By default only 1 balancing
resistor is used.
The hardware implementation of Zone 4 of the panel permits performance in pulse count mode, suitable for connecting
a rolling shutters detector. This mode counts short pulses - 2 to 4 ms for a period of 20 seconds. The rst pulse starts a
20-second countdown during which pulses are expected to be received. Their number is assigned at ADDRESS 2047 of
the engineer program. An alarm signal is emitted when this number is reached within the time of 20 seconds. Otherwise
the pulse counter will be zeroed after the time of 20 seconds expires.
Activating the pulse count mode will automatically start when a number other than 0 is keyed in at ADDRESS 2047 of
the engineer program. The connection option of a rolling shutters detector to ZONE 4 is shown on Figure 6 d).
The possible options for connecting re detectors and balancing the zones are shown on Figure 7.
а) Connecting Detectors with
One Balancing Resistor
Connecting up to n detectors Connecting up to 4 detectors
b) Connecting Detectors with Two Balancing Resistors
c) Connecting Detectors with Zone Doubling
d) Connecting of rolling shutters detector to Zone 4, in zone doubling mode.
Figure 6. Options for connecting detectors to the CA62 control panel.

Table of Contents

Related product manuals