EasyManua.ls Logo

ThinkPad E560 - 1080 Wireless LAN Card

ThinkPad E560
120 pages
Print Icon
To Next Page IconTo Next Page
To Next Page IconTo Next Page
To Previous Page IconTo Previous Page
To Previous Page IconTo Previous Page
Loading...
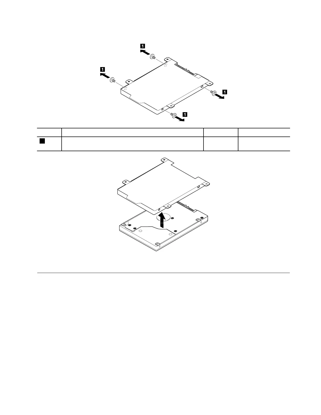
Removalstepsoftheharddiskdriveorsolid-statedrivebracket
1
1
1
1
StepScrew(quantity)Color
Torque
1
M3×3mm,flat-head,nylon-coated(4)Silver
0.294Nm
(3.0kgf-cm)
Wheninstalling:Ensurethattheharddiskdriveassemblyorsolid-statedriveassemblyisattachedfirmly.
1080WirelessLANcard
Foraccess,removetheseFRUsinorder:
“1020Batterypack”onpage72
“1030Largebottomcover”onpage73
Chapter9.RemovingorreplacingaFRU79

Table of Contents

Related product manuals