EasyManua.ls Logo

ThinkPad E560 - 1130 System Board and Thermal Fan

ThinkPad E560
120 pages
Print Icon
To Next Page IconTo Next Page
To Next Page IconTo Next Page
To Previous Page IconTo Previous Page
To Previous Page IconTo Previous Page
Loading...
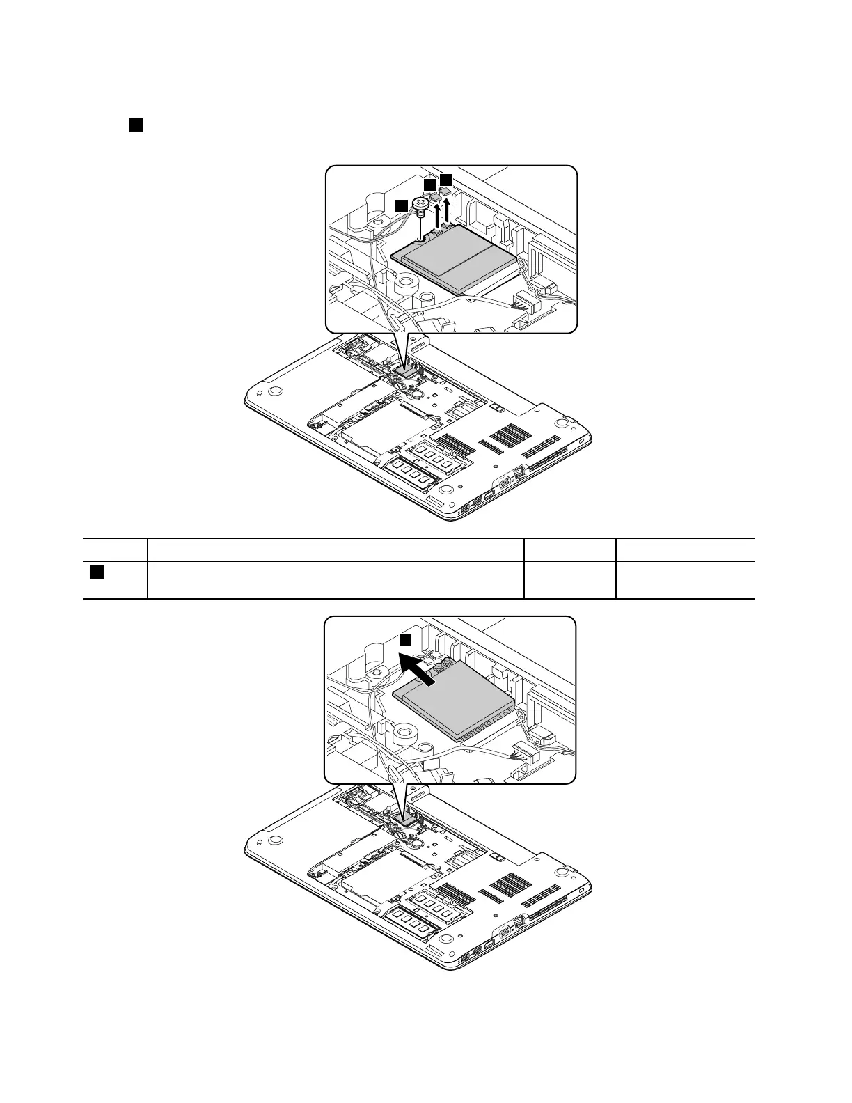
RemovalstepsofthewirelessLANcard
Instep1,unplugtheconnectorsbyusingtheantennaRFconnectorremovaltoolorpicktheconnectors
withyourfingersandgentlyunplugthemasshown.
1
1
2
StepScrew(quantity)Color
Torque
2
M2×3mm,wafer-head,nylon-coated(1)
Black0.181Nm
(1.85kgf-cm)
3
80HardwareMaintenanceManual

Table of Contents

Related product manuals