EasyManua.ls Logo

ThinkPad E560 - 1160 Speaker Assembly

ThinkPad E560
120 pages
Print Icon
To Next Page IconTo Next Page
To Next Page IconTo Next Page
To Previous Page IconTo Previous Page
To Previous Page IconTo Previous Page
Loading...
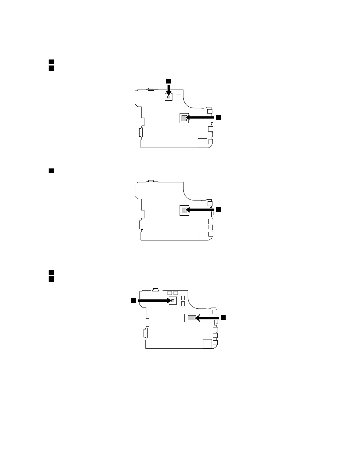
ThinkPadE565
Formodelswithadiscretethermalmodule
aAcceleratedProcessingUnit(APU)
bGraphicsProcessingUnit(GPU)
b
a
Formodelswithanintegratedthermalmodule
aAcceleratedProcessingUnit(APU)
a
ThinkPadE560
Formodelswithadiscretethermalmodule
aMicroprocessor
bGraphicsProcessingUnit(GPU)
b
a
Chapter9.RemovingorreplacingaFRU87

Table of Contents

Related product manuals