EasyManua.ls Logo

Toshiba HX7+ ASD - Page 31

Toshiba HX7+ ASD
257 pages
To Next Page IconTo Next Page
To Next Page IconTo Next Page
To Previous Page IconTo Previous Page
To Previous Page IconTo Previous Page
Loading...
22 HX7+ ASD Installation and Operation Manual
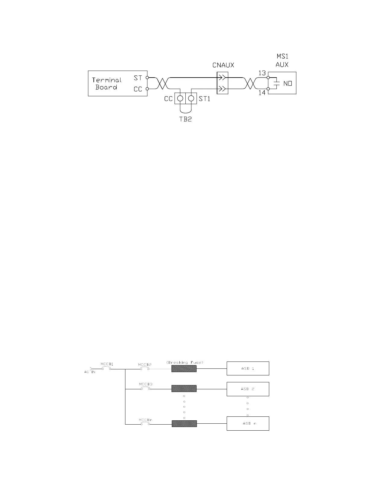
Figure 2. ST activation using the MS1 AUX circuit configuration.
The ASD input voltage should remain within 10% of the specified input voltage range. Input voltages
approaching the upper or lower limit settings may require that the over-voltage and under-voltage stall
protection level parameters,
F626 and F629, be adjusted. Voltages outside of the permissible tolerance
should be avoided.
The frequency of the input power should be ±2 Hz of the specified input frequency.
Do not use an ASD with a motor that has a power rating that is greater than the rated output of the ASD.
The ASD is designed to operate NEMA B motors. Consult with your Toshiba Customer Support Center
before using the ASD for special applications such as with an explosion-proof motor or applications
with a piston load.
Interface problems may occur when an ASD is used in conjunction with some types of process
controllers. Signal isolation may be required to prevent controller and/or ASD malfunction (contact
your Toshiba Customer Support Center or the process controller manufacturer for additional
information about compatibility and signal isolation).
Use caution when setting the output frequency. Over speeding a motor decreases its ability to deliver
torque and may result in damage to the motor and/or the driven equipment.
All HX7+ ASDs are equipped with internal DC bus fuses. However, not all HX7+ ASDs are equipped
with internal primary power input fuses (HP dependent). When connecting two or more drives that have
no internal fuse to the same power line as shown in
Figure 3, it will be necessary to select a circuit-
breaking configuration that will ensure that if a short circuit occurs in ASD 1, only MCCB2 trips, not
MCCB1. If it is not feasible to use this configuration, insert a fuse between MCCB2 and ASD 1.
Figure 3. Circuit breaker configuration.

Table of Contents

Other manuals for Toshiba HX7+ ASD

Related product manuals