EasyManua.ls Logo

Veloce 400 - Installation of the Wing Attachment Eyelets

Veloce 400
160 pages
Print Icon
To Next Page IconTo Next Page
To Next Page IconTo Next Page
To Previous Page IconTo Previous Page
To Previous Page IconTo Previous Page
Loading...
Chapter 5 - Fuselage
5.20 - Installation of the wing fixing eyes
Page 89
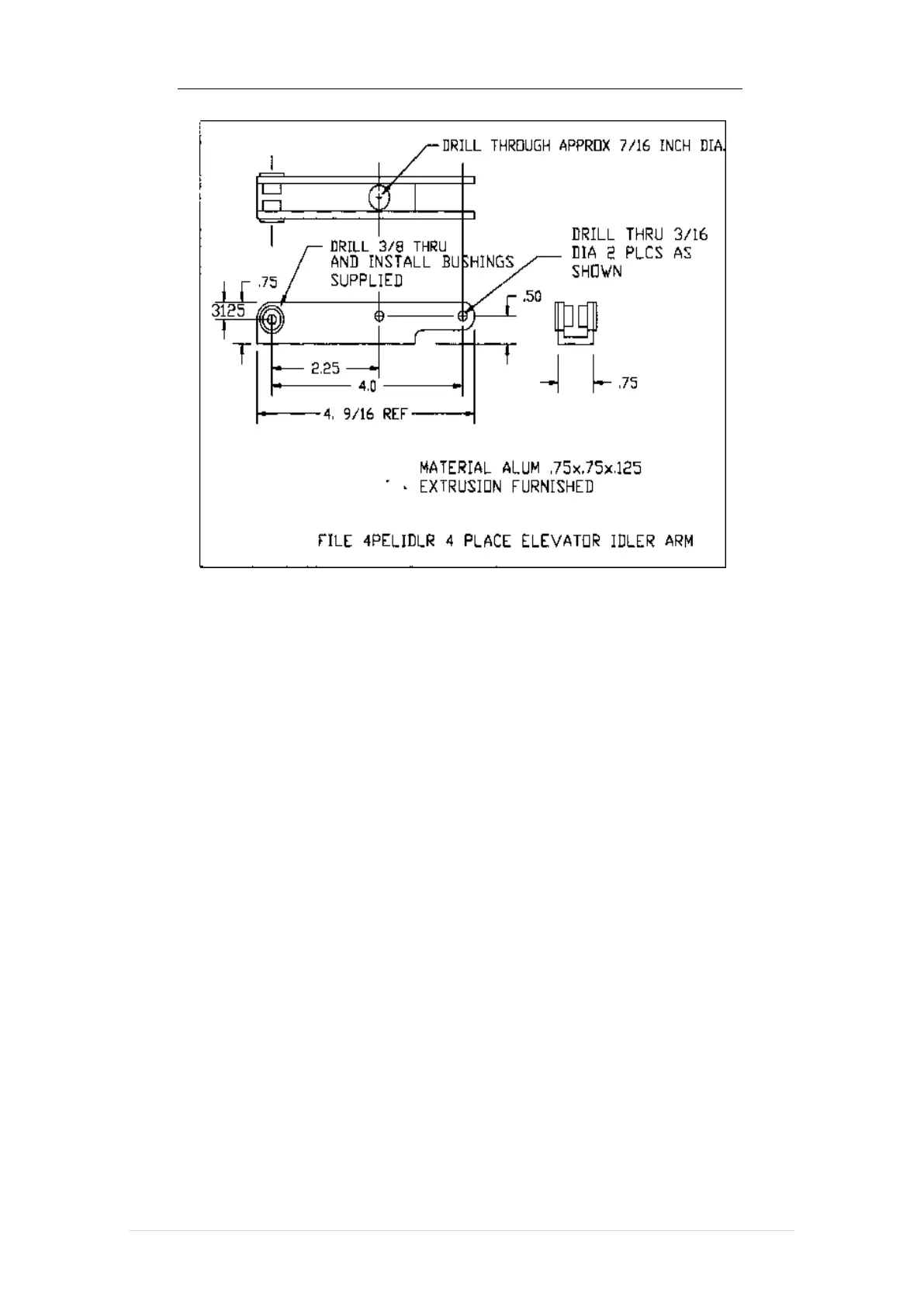
Use the attached figure as a guide, and fabricate the middle elevator lever from a
piece of section aluminum provided. Use the rod rod ends to establish the number of
washers to provide a good fit on the channel sections. Insert the bushings into the end
pivot of the gear lever, and use the mount, with the mounting angles (part KS-3) to help
drill the mounting holes (4) for this mount. Ream these holes from the front surface of the
rear seat back and install the mount using the 4 #10-32 flat head screws provided
(MS24694-S56). (See figure as a guide for these operations). Four chamfered washers
(A315-017-24A) are also provided for the flat head screws selected for the middle
mounting area to minimize friction erosion of the composite material.
An alternate location is possible with the articulation from a hard point added to the
floor. This may be necessary if the rear seat articulation is planned. CHECK WITH THE
FACTORY FOR ADDITIONAL ADVICE AND DETAILS IF THIS LOCATION IS
SELECTED.
5.20 Installation of the wing attachment eyelets
Align and level the wing in its position (leveling in section 5.13.1.1 ).

Table of Contents