EasyManua.ls Logo

Vertiv Liebert MBSM - Figure 3 Dimensions, Drilling Diagram

Vertiv Liebert MBSM
34 pages
Print Icon
To Next Page IconTo Next Page
To Next Page IconTo Next Page
To Previous Page IconTo Previous Page
To Previous Page IconTo Previous Page
Loading...
Vertiv
| Liebert
®
MBSM
User Manual | 9
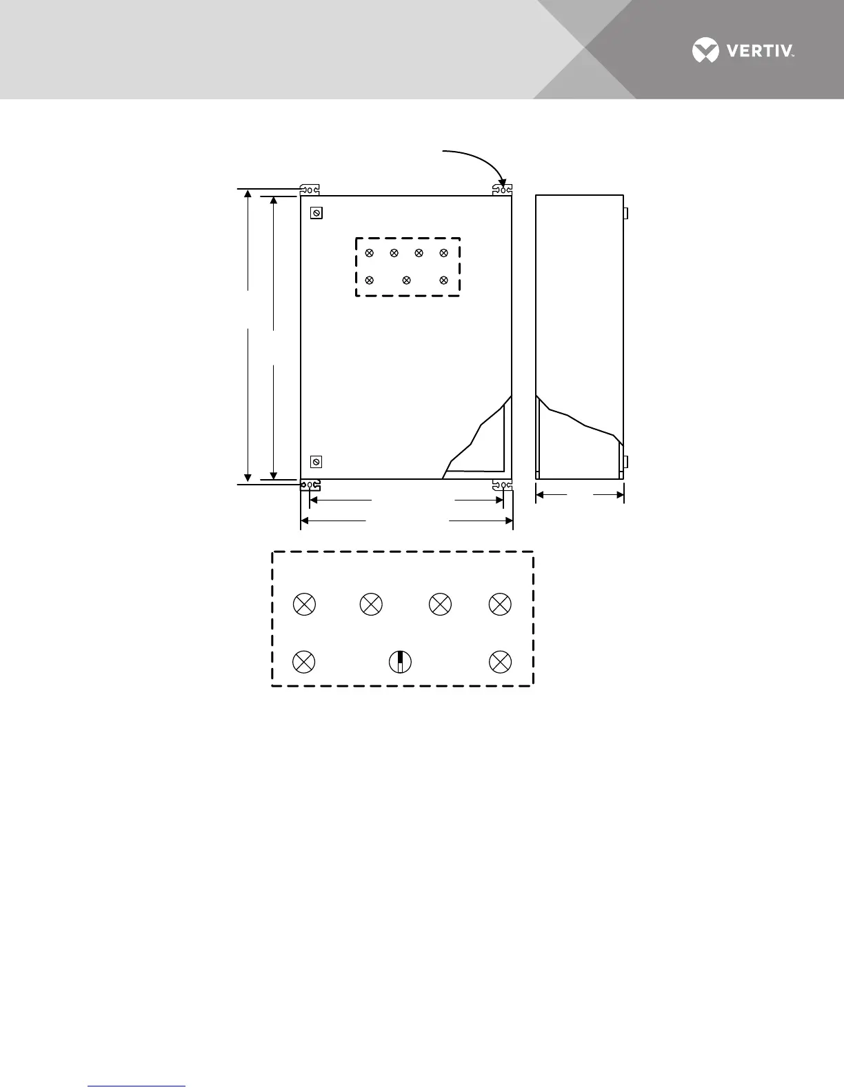
Figure 3 Dimensions, drilling diagram
31.5"
(800mm)
32.7"
(830mm)
Detail A
23.6" (600mm)
21.5" (545mm)
FRONT
Nr. 4 Slot
0.33" x 0.57")
(8.5 x 14.5mm
Bus A
Active
Bus B
Active
Forced
Bus A
Forced
Bus B
L1
System OK
L2
System
Fault
Priority A Autom. Priority B
9.9"
(250mm)
SIDE

Table of Contents

Related product manuals