EasyManua.ls Logo

VESDA LaserPLUS - Wiring to Fire Panel (FACP); Wiring to Address Loop Module

Default Icon
44 pages
Print Icon
To Next Page IconTo Next Page
To Next Page IconTo Next Page
To Previous Page IconTo Previous Page
To Previous Page IconTo Previous Page
Loading...
LaserPLUS Product Guide VESDA
®
22
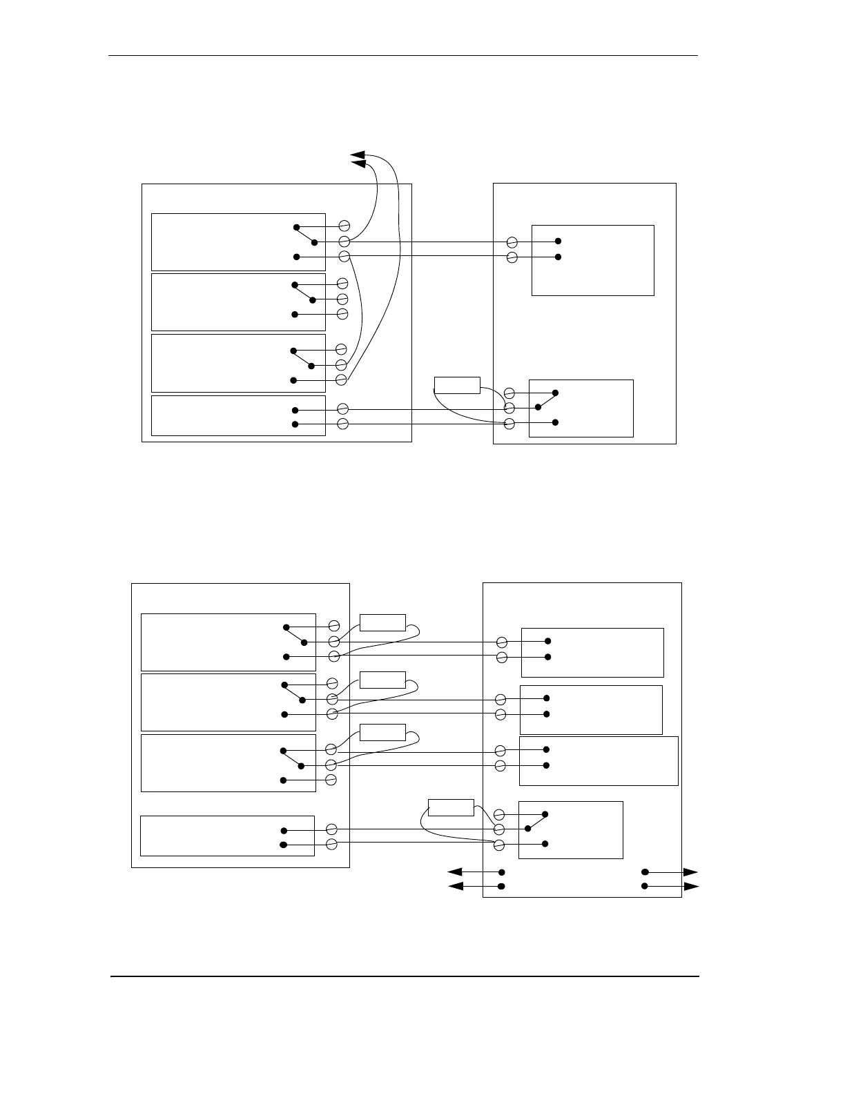
Typical Wiring To Fire Panel (FACP)
The diagram below shows the correct way to wire VESDA laser detectors to a conventional fire
panel (FACP). It also shows where an End Of Line (EOL) resistor is correctly installed.
Figure 20 - Typical wiring to a fire panel with EOL
Wiring To an Address Loop Module.
This wiring example is for wiring VESDA detectors to a typical Address Loop module 3 output 1
input. These are example drawings. Refer to the appropriate product manual for the exact wiring
details of the third party equipment.
Figure 21 - Addressable Loop Module with EOL
Normally Closed (NC)
Common (C)
Normally Open (NO)
Normally Closed (NC)
Common (C)
Normally Open (NO)
Normally Closed (NC)
Common (C)
Normally Open (NO)
GPI
(Set to reset)
(NC)
Reset (C)
(NO)
Input
Short = Fire
Open = Fault
Fire Panel (FACP)
Detector
EOL
To next detector
or EOL resistor
Normally Closed (NC)
FIRE 1 Common (C)
Normally Open (NO)
Normally Closed (NC)
ACTION Common (C)
Normally Open (NO)
Normally Closed (NC)
FAULT Common (C)
Normally Open (NO)
GPI
(Set to reset)
(NC)
Reset (C)
(NO)
Fire Input
Short = Fire
Open = Fault
3 output 1 input Loop Module
Detector
EOL
Pre Alarm
Short = Fire
Open = Fault
Fault Input
Short= Detector Fault
Open = Wiring Fault
EOL
EOL
EOL
To Next Detector
To FA C P

Related product manuals