EasyManua.ls Logo

Wavetek 3000 - Page 24

Wavetek 3000
225 pages
Print Icon
To Next Page IconTo Next Page
To Next Page IconTo Next Page
To Previous Page IconTo Previous Page
To Previous Page IconTo Previous Page
Loading...
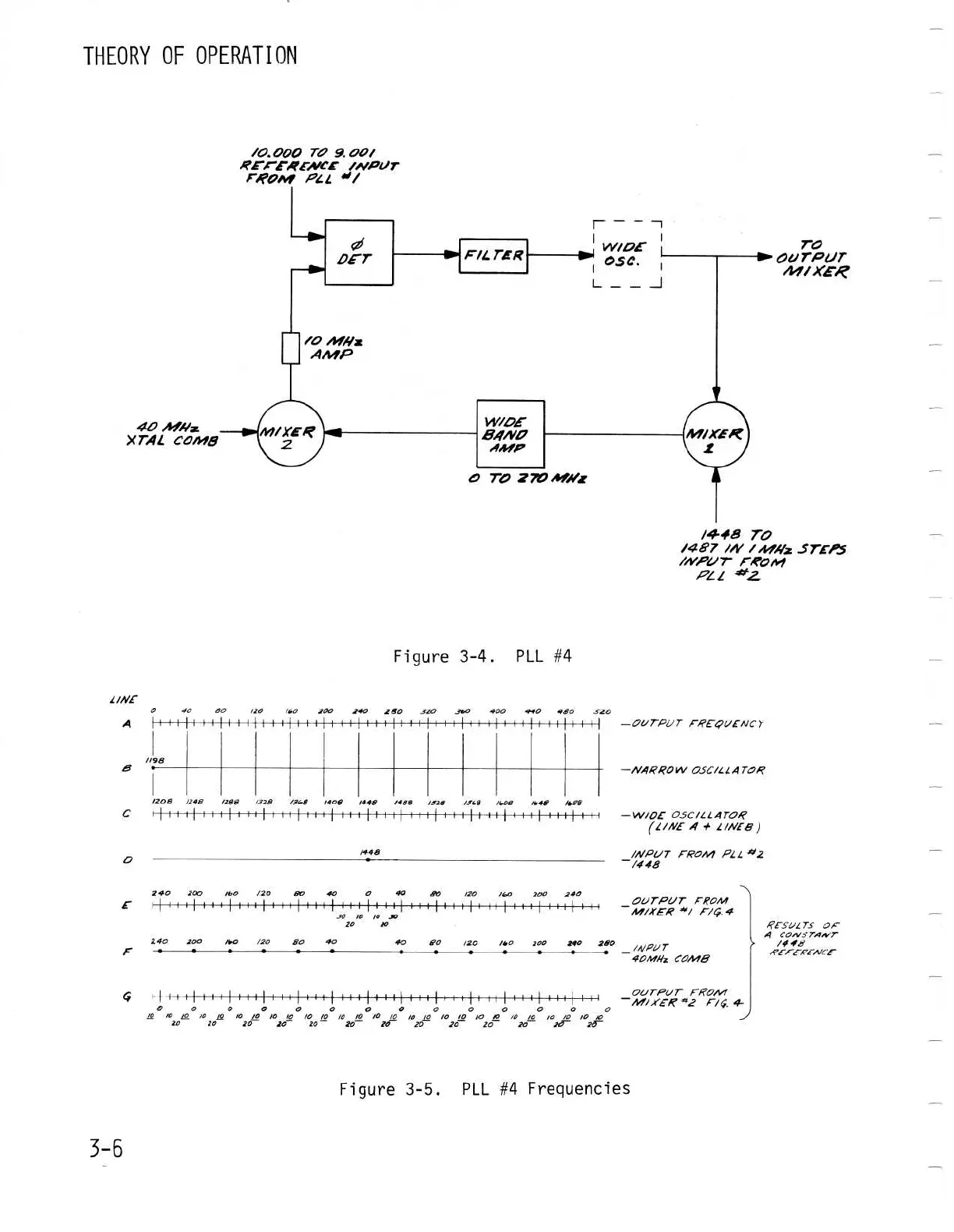
THEORY
OF
OPERATION
L
IN6
40
.,oWx
X
TAL
COM8
19
40
80
/20
/60
T110
140
290
320
.360
400
440
oleo
S20
"
-Olrravr
FREg41CIVCY
B
E
/198
/108
/246 1268 /326
C
/0
.000
TO
9
.
00/
R6F"E~4ENCE
/NpllT
FROM
1
0
4L
Figure
3-4
.
PILL
#4
/368 /406 1448 1486
/J26
/J06 /606
1640
1686
30
/O
to
!O
26
1
n
-NARROW
OSCILLATOR
-WlOE
OSCILLATOR
-
INPUT
FROM
PL
I
-
*
.z
/448
_OUTPUT
FROM
MIXER
'
6
/
r
-
14
.4
240
zoo
/60
120
so
40
4O
61
0
120
/60
2ao
zoo
290
_
lI
r
F
40MNz
COMB
l
{
.
L~
I
i
i
.
i
. i
i
i
OUTPUT
FROM
4-
0 0 0
0 0 0 0 0 0 0 0 0
0
0
Lo
10
L
10 ~! IO
l0
/O
lO lO
lO
1O l0
/O
l0 /O
L
/O 10
10
AO
10 /O
lO la lO da
20
2a 20
20
20
20
20
10
10 20
2J
1(T
?Zr
Figure
3-5
.
PILL
#4
Frequencies
TO
O~J
TP!/T
MIXED
1448
TO
/487
/W
/WWlz
STEP5
INPUT
FRgM
PL
L
LINE
4
t
LINES)
RESUL
TS
2,-
A
CONSTANT
l4ld
~PE~E~lNCE

Table of Contents

Related product manuals