EasyManua.ls Logo

Yamaha DRCX - Page 44

Yamaha DRCX
312 pages
Print Icon
To Next Page IconTo Next Page
To Next Page IconTo Next Page
To Previous Page IconTo Previous Page
To Previous Page IconTo Previous Page
Loading...
3-17
3
I/O INTERFACE
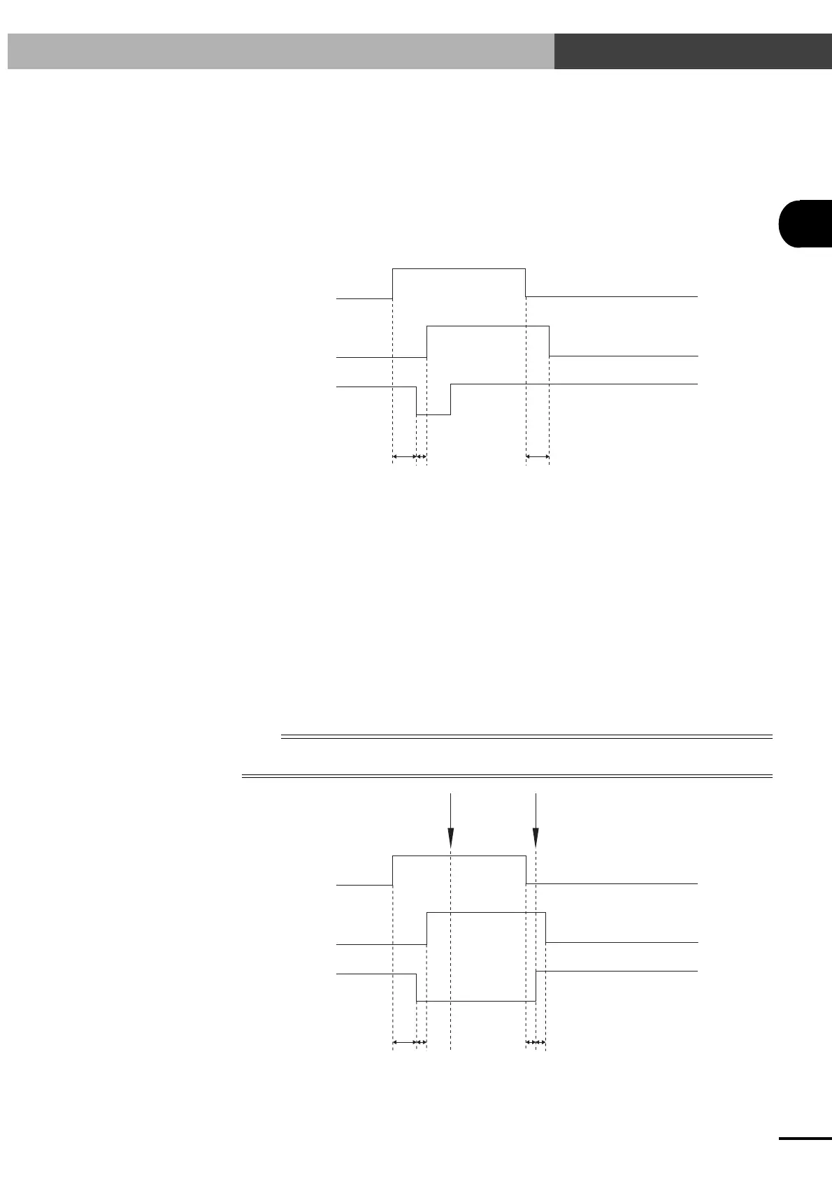
(2)When a command with a short execution time runs and ends normally:
(Command execution has already ended and the END signal is on before turning off
(contact open) the dedicated command input, as in the examples listed below.)
•A movement command (ABS-PT, INC-PT) for a very short distance was executed.
•A reset command (RESET) was executed.
•A step run was executed using a command with a very short execution time such as the L and
DO statements.
Dedicated
command
30ms or less
END
BUSY
30ms or less
1ms or less
(1)At the rising edge of the dedicated command input, the END signal turns off and the BUSY
signal turns on.
(2)Turn off (contact open) the dedicated command input after checking that the BUSY signal
turns on.
(3)Wait until the BUSY signal turns off. (The BUSY signal immediately turns off since the com-
mand execution is already complete.)
(4)The END signal should be on when the BUSY signal turns off, indicating that the command
has ended normally.
However, the PRM20 (system mode selection parameter) "bit 7 END output sequence setting at
command execution completion" setting can be changed so that the END signal turns on when the
dedicated command input turns off.
n
NOTE
The PRM20 (system mode selection parameter) "bit 7 END output sequence setting at command execution
completion" setting is supported only in Ver. 18.74 and later versions.
Dedicated
command
END
BUSY
Dedicated command
execution completion
30ms or less
1ms or less 1ms or less1ms or less
Even after dedicated command
execution completion, the END
signal does not turn on until the
dedicated command input turns
off.
3-6 I/O Control Timing Charts
Artisan Technology Group - Quality Instrumentation ... Guaranteed | (888) 88-SOURCE | www.artisantg.com

Table of Contents

Related product manuals