EasyManua.ls Logo

Yamaha DRCX - Page 64

Yamaha DRCX
312 pages
Print Icon
To Next Page IconTo Next Page
To Next Page IconTo Next Page
To Previous Page IconTo Previous Page
To Previous Page IconTo Previous Page
Loading...
3-37
3
I/O INTERFACE
3-7 I/O Assignment Change Function
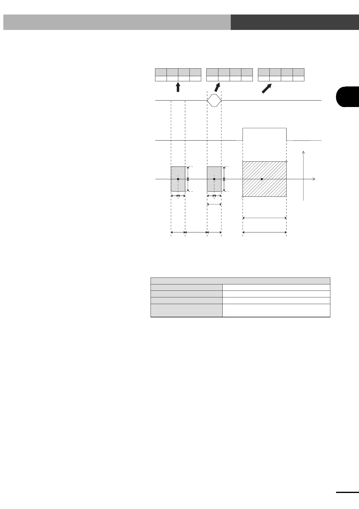
(4)Outputting the corresponding point number by the movement point zone output
function
Zone outputs (ZONE 0) are also explained here.
Target position's point number
outputs 0 to 3*
(PO0 to PO3)
Zone output 0 (ZONE 0)
*Positive logic
Current robot position
P1
* The number of target point number outputs that can be used depends on I/O assignment type.
q w r
Zone output range
X+
b
b
Y+
OFF OFF
PO3
(2
3
)
ON
PO2
(2
2
)
ON
PO1
(2
1
)
PO0
(2
0
)
OFF OFF OFF OFF
PO3
(2
3
)
PO2
(2
2
)
PO1
(2
1
)
PO0
(2
0
)
OFF OFF OFF OFF
PO3
(2
3
)
PO2
(2
2
)
PO1
(2
1
)
PO0
(2
0
)
P6
e
Point zone output range
Point zone output range
Point output
(point 6)
Point output
(point 6)
b
b
P900
P900
P901
P901
aaaa
a: X-axis position judgment parameter range
b: Y-axis position judgment parameter range
(In this case, this is the OUT valid position range.)
Precondition: 1) The following steps are explained assuming that PRM26=321.
I/O assignment type
Permissible number of movement points
Point output selection
Point zone judgment method
(position judgment parameter)
When the PRM26 setting = 321
Type 2 (Point No. output type)
16 points
Movement point zone output
OUT valid position
2) The Zone 0 output signal is enabled and set to positive output by the Zone
output selection parameter (PRM24).
3) Set the movement point as P6.
(1) Although the robot is within the P1 ± OUT valid position range (point zone output range), all
the PO0 to PO3 target position point number outputs are off because P1 is not the movement
point. Moreover, the ZONE 0 output is also off because the robot is not within the specified
zone output range.
(2) All the PO0 to PO3 target position point number outputs are off because the robot is not
within the point zone output range. Moreover, the ZONE 0 output is also off because the
robot is not within the specified zone output range.
(3) The corresponding point number P6 is output to PO0 through PO3 (P1, P2 are on; P0, P3 are
off) because the robot is within the P6 ± OUT valid position range (point zone output range),
and because P6 is the movement point. ZONE 0 remains off at this time because the robot is
not within the specified zone output range.
(4) The ZONE 0 output turns on because the robot is within the specified zone output range
(P900 to P901). All the PO0 to PO3 target position point number outputs are off at this time
because the robot is not within any point zone output range.
Artisan Technology Group - Quality Instrumentation ... Guaranteed | (888) 88-SOURCE | www.artisantg.com

Table of Contents

Related product manuals