EasyManua.ls Logo

Yamaha F5A - Assembling the Propeller Shaft Assembly; Assembling the Propeller Shaft Housing Assembly; Checking the Dog Clutch; Checking the Propeller Shaft Housing

Yamaha F5A
202 pages
Print Icon
To Next Page IconTo Next Page
To Next Page IconTo Next Page
To Previous Page IconTo Previous Page
To Previous Page IconTo Previous Page
Loading...
8-9
LOWR
Lower unit
Checking the dog clutch
1. Check the dog clutch, shift plunger, and
spring. Replace if cracked or worn.
Checking the propeller shaft housing
1. Check the propeller shaft housing.
Replace if cracked or damaged.
Checking the reverse gear
1. Check the teeth and dogs of the reverse
gear. Replace if cracked or worn.
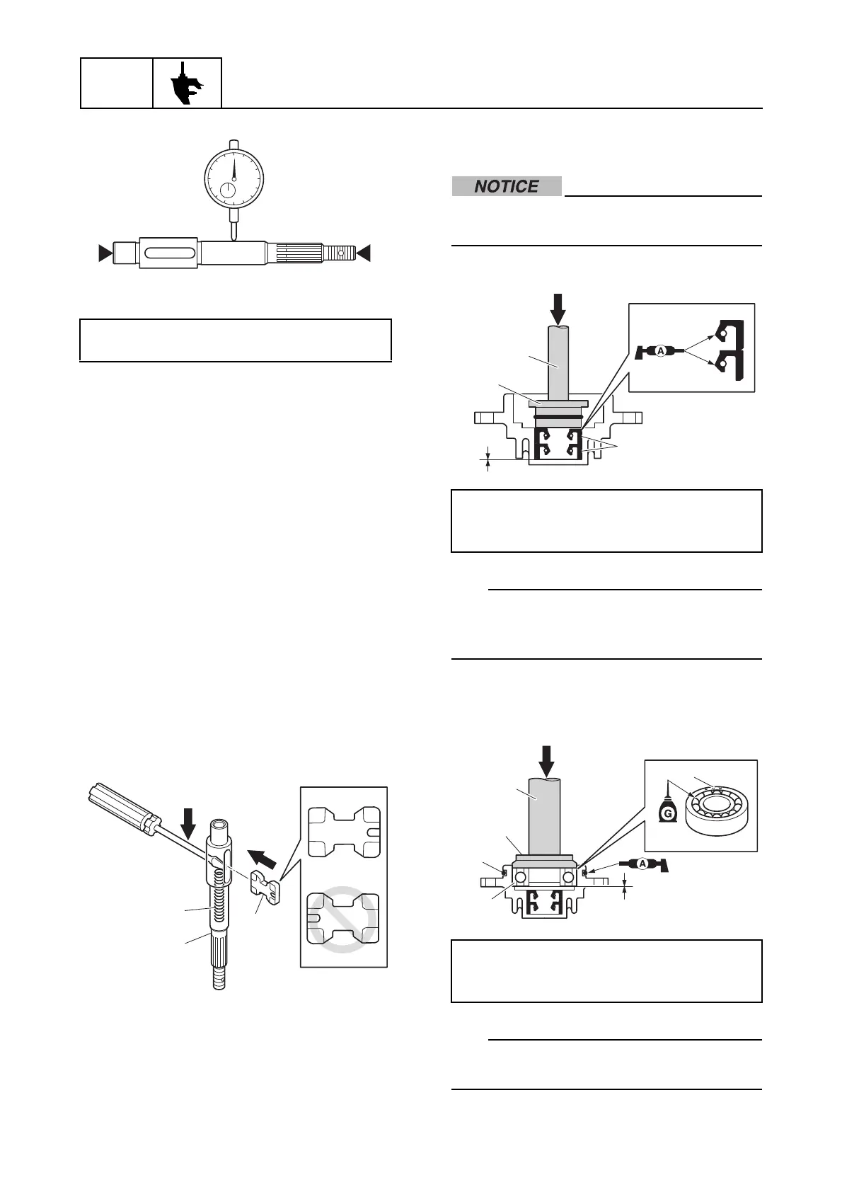
Assembling the propeller shaft
assembly
1. Install the spring a into the hole in the
propeller shaft b.
2. Push the spring a, and then install the
dog clutch c.
Assembling the propeller shaft
housing assembly
Do not reuse a bearing, oil seal, or O-ring,
always replace it with a new one.
1. Install new oil seals a.
TIP:
Install an oil seal halfway into the propeller
shaft housing, and then install the other oil
seal.
2. Install a new ball bearing d.
3. Install a new O-ring e.
TIP:
Face the identification mark a on the ball
bearing toward the reverse gear.
Propeller shaft runout:
0.02 mm (0.001 in)
c
a
b
Driver rod L3 b: 90890-06652
Needle bearing attachment c:
90890-06615
Driver rod LS f: 90890-06606
Bearing outer race attachment g:
90890-06628
b
a
c
d
g
e
f
a

Table of Contents

Other manuals for Yamaha F5A

Related product manuals