EasyManua.ls Logo

Yamaha F5A - Clamp Bracket

Yamaha F5A
202 pages
Print Icon
To Next Page IconTo Next Page
To Next Page IconTo Next Page
To Previous Page IconTo Previous Page
To Previous Page IconTo Previous Page
Loading...
3-3
RIG
GING
Rigging information
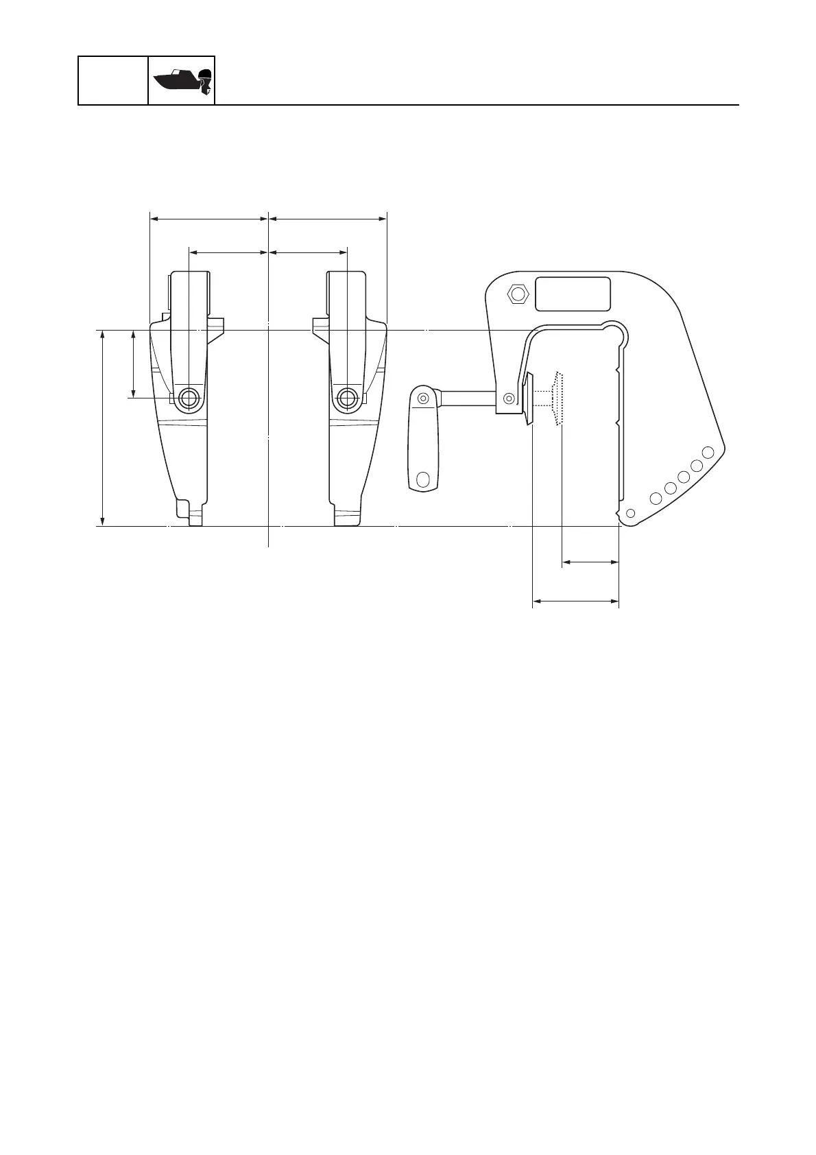
Clamp bracket
22 (0.9)
60 (2.4)
83 (3.3)
136 (5.4)
48 (1.9)
83 (3.3)
55 (2.2)
55 (2.2)
mm (in)

Table of Contents

Other manuals for Yamaha F5A

Related product manuals