EasyManua.ls Logo

ABB COMMANDER 150 - Page 18

ABB COMMANDER 150
42 pages
Print Icon
To Next Page IconTo Next Page
To Next Page IconTo Next Page
To Previous Page IconTo Previous Page
To Previous Page IconTo Previous Page
Loading...
16
8
PrESEt
000000
A140.5
PrEdEt
999999
•2
•2
456789
SEC.tOt
rSt-n
•1
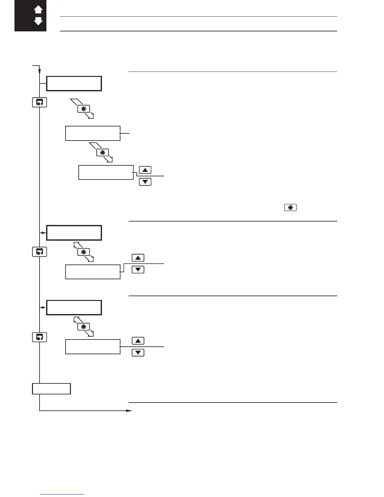
…3 SET UP MODE
…3.2 Set Up Level (Level 2)
•1 Only displayed if enabled in the Configuration Level – see Section 4.3.3.
•2 The preset value must be lower than the predetermined value when counting up,
and greater than the predetermined value when counting down.
Secure Total
The secure total is independent of the batch total value.
When 999999 or 000000 is reached, the total is reset
and then continues counting.
Total
Reset
rSt-Y reset totalizer
rSt-n do not reset totalizer
To reset, select
rSt-Y then press the key.
Preset Batch Total
This is the value the batch total is set to when it is reset.
[000000 to 999999]
Predetermined Batch Total
When this value is reached the batch total either resets
(with wrap on) or stops (wrap off) – see Section 4.3.3.
[000000 to 999999]
Continued on next page.