EasyManua.ls Logo

Acer Aspire E1-431 - No Display Issues

Acer Aspire E1-431
251 pages
Print Icon
To Next Page IconTo Next Page
To Next Page IconTo Next Page
To Previous Page IconTo Previous Page
To Previous Page IconTo Previous Page
Loading...
4-6 Troubleshooting
No Display Issues 0
If the Display does not work, perform the following:
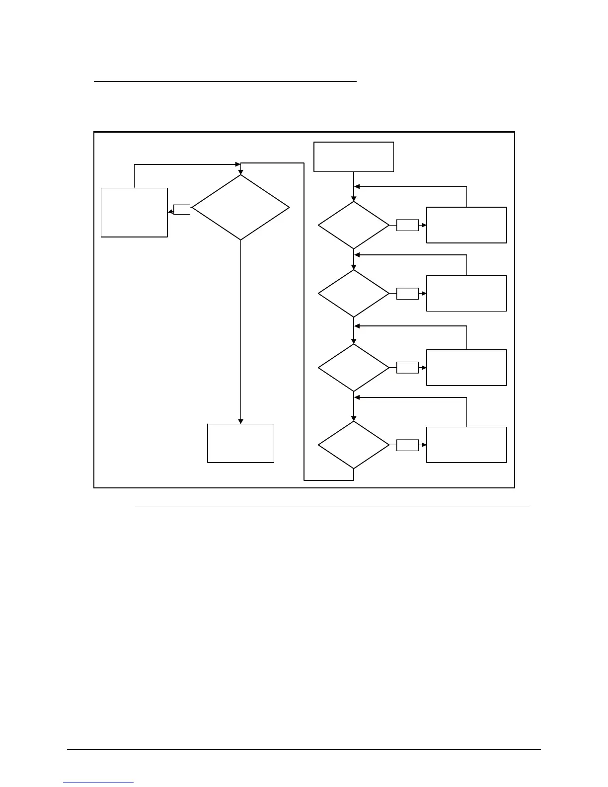
Figure 4-2. No Display Issue
No POST or Video 0
If the POST or video does not appear, perform the following:
1. Make sure that internal display is selected. Switching between internal and external
by pressing
Fn+F5
. Reference product pages for specific model procedures.
2. Make sure the computer has power by checking for one of the following:
Fans start up
Status LEDs illuminate
If no power, refer to
Power On Issues
.
3. Drain stored power by removing the power cable and battery. Hold the power
button for 10 seconds.
4. Connect the power and reboot the computer.
5. Connect an external monitor to the computer and switch between the internal
Go to Power
On Issue
START
Power On?
Ext. DDRRAM
module well
connected?
Ext. DDRRAM
module OK?
CPU thermal
module well
screw?
Replace
M/B
Connect
it well
Replace
Ext. DDR RAM
module
Screw it well
Replace
LCD panel/
LCD cable
LCD module
OK?
No
No
No
No
No

Table of Contents

Related product manuals