EasyManua.ls Logo

Aclara I-210+ - Form 25 S (3 W-N)

Aclara I-210+
55 pages
Print Icon
To Next Page IconTo Next Page
To Next Page IconTo Next Page
To Previous Page IconTo Previous Page
To Previous Page IconTo Previous Page
Loading...
I-210+ User Manual 41
Chapter 7 • Site Analysis Guides
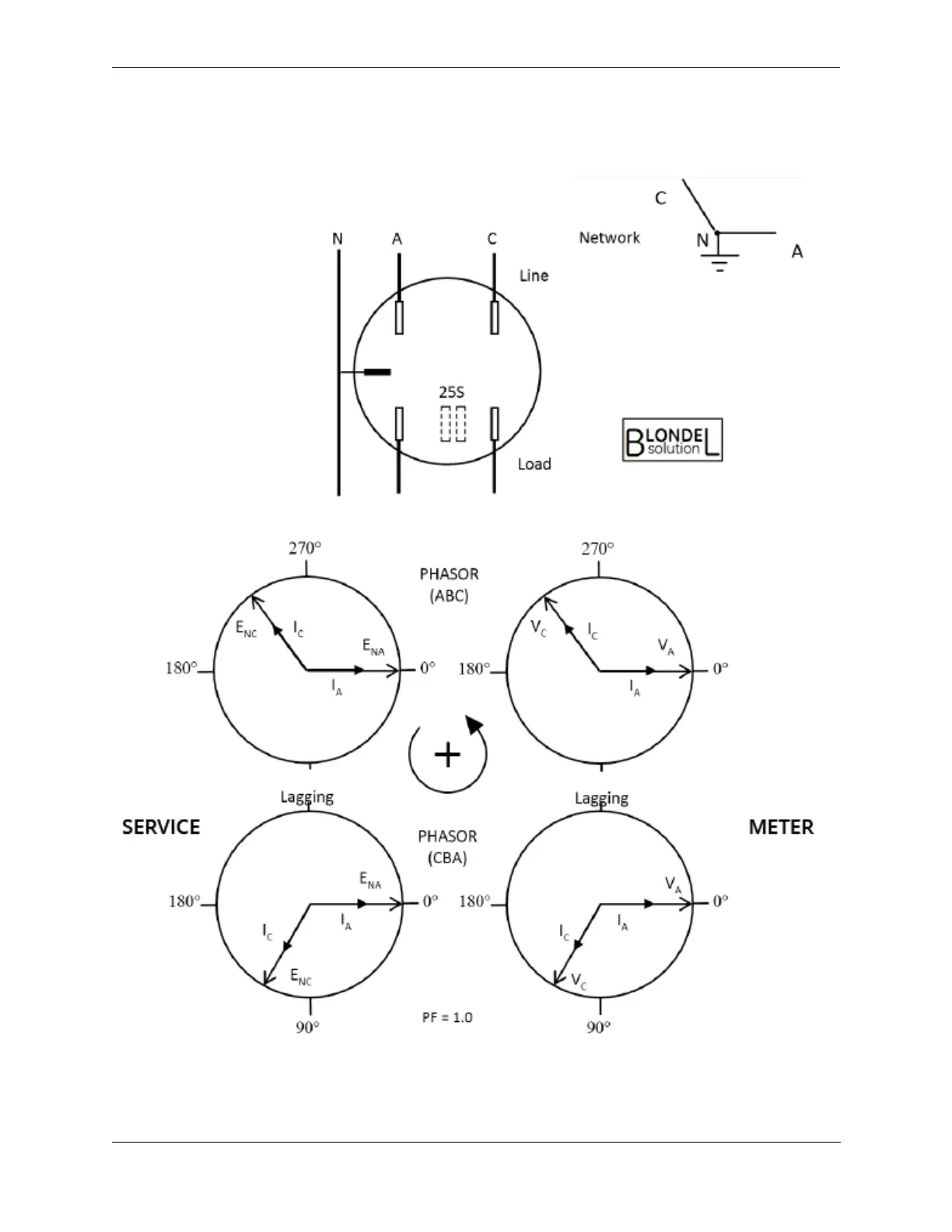
Form 25S (3W-N)
Self-contained, 3-wire, network, 1-element

Table of Contents

Related product manuals