EasyManua.ls Logo

AERMEC SWP300 S2 - 12 Automatischer Betrieb; Gesamtdiagramm

AERMEC SWP300 S2
Print Icon
To Next Page IconTo Next Page
To Next Page IconTo Next Page
To Previous Page IconTo Previous Page
To Previous Page IconTo Previous Page
Loading...
112
SWP_5287500_00
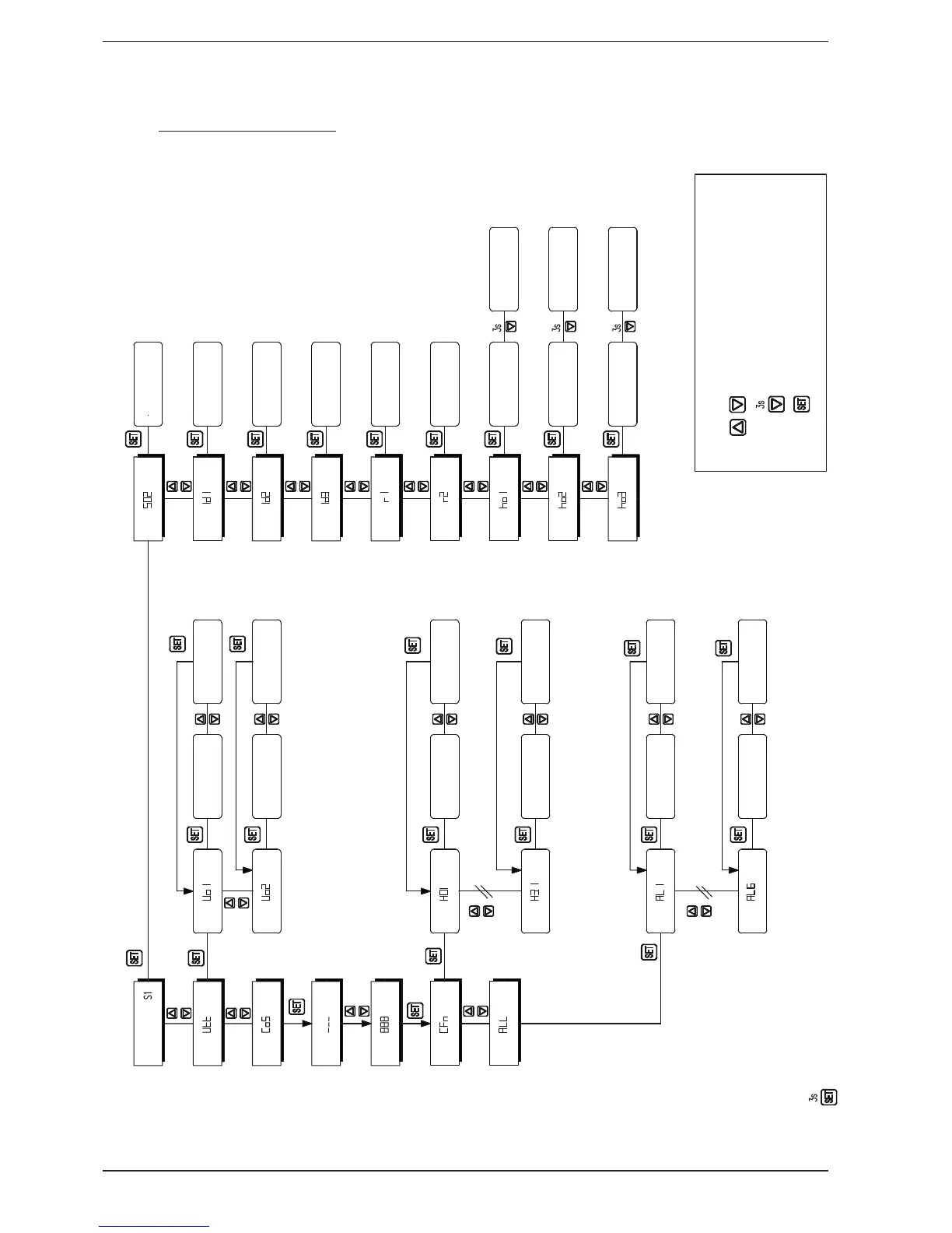
12. AUTOMATISCHER BETRIEB
12.1. GESAMTDIAGRAMM
TEMPERATUR
Passwort eingabe
Passwort bestätigen
Anzeige Wert
Uo1
Anzeige Wert
Uo2
Wertänderung
Uo1
Wertänderung
Uo2
Änderung
Temperatur S2
Änderung Status
ID1
Änderung Status
ID2
Änderung Status
ID3
Änderung Status
N01
Änderung Status
N02
Änderung Stunden
Wärmepumpe
Änderung Stunden
Widerstand
Änderung Stunden
Insgesamt
Nullstellung Stunden
Widerstand
Nullstellung
Stunden Insgesamt
Nullstellung Stunden
Wärmepumpe
Anzeige Wert
H01
Anzeige Wert
H22
Wertänderung
H01
Wertänderung
H22
Anzeige Wert
AL1
Anzeige Wert
AL6
Wertänderung
AL1
Wertänderung
AL6
LEGENDE
Tasten UP- Down gleichzeitig gedrückt
Taste Down 3 Sek. gedrückt gehalten
Taste SET drücken und sofort loslassen
Wird die Taste Set für 3 Sek. gedrückt gehalten, kehrt man zum Anfang zurück (Anzeige von S1)

Table of Contents

Related product manuals