EasyManua.ls Logo

AERMEC SWP300 S2 - Diagramma Complessivo; 12 Funzionamento Automatico

AERMEC SWP300 S2
Print Icon
To Next Page IconTo Next Page
To Next Page IconTo Next Page
To Previous Page IconTo Previous Page
To Previous Page IconTo Previous Page
Loading...
20
SWP_5287500_00
13. FUNZIONAMENTO
AUTOMATICO
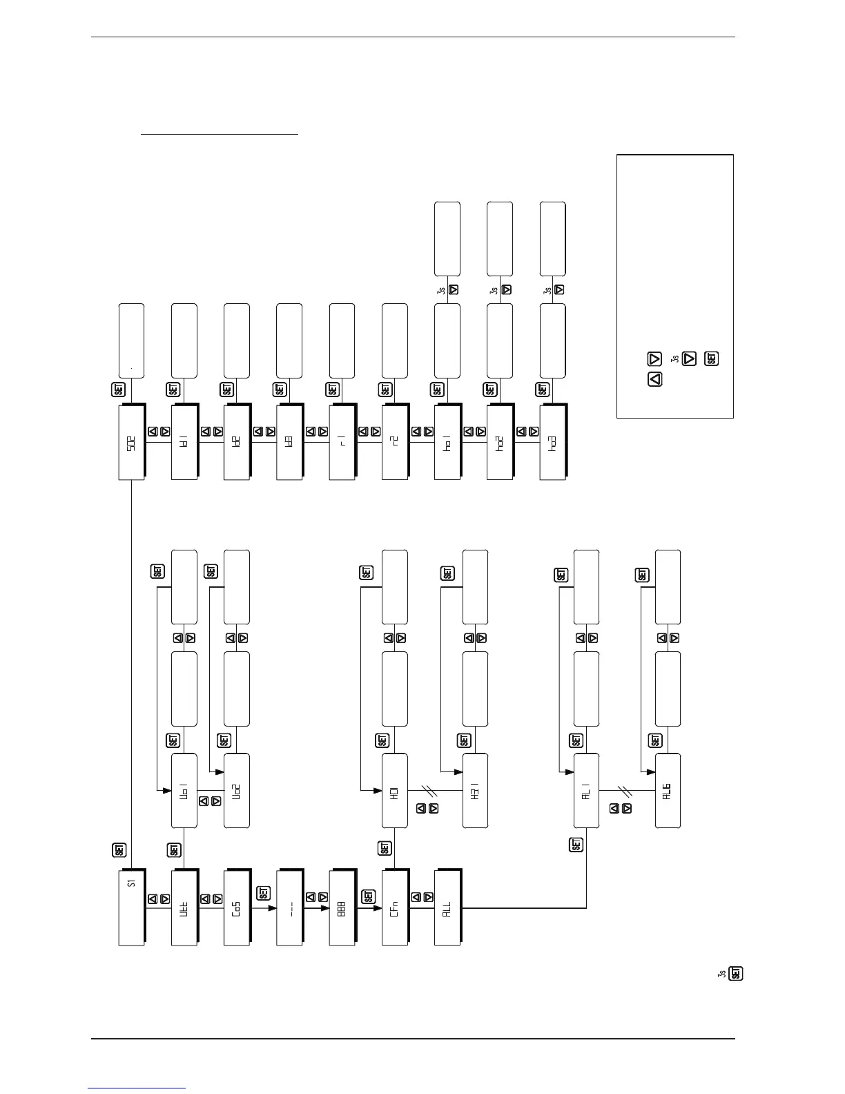
13.1. DIAGRAMMA COMPLESSIVO
Temperatura
INSERIMENTO PASSWORD
CONFERMA PASSWORD
Visualizzazione
Valore Uo1
Visualizzazione
Valore Uo2
Variazione
Valore Uo1
Variazione
Valore Uo2
Variazione
Temperatura S2
Variazione
Stato ID1
Variazione
Stato ID2
Variazione
Stato ID3
Variazione
Stato N01
Variazione
Stato N02
Variazione
ore PdC
Variazione
ore Resistenza
Variazione
ore Totali
Azzeramento
ore Resistenza
Azzeramento
ore Totali
Azzeramento
ore PdC
Visualizzazione
Valore H01
Visualizzazione
Valore H22
Variazione
Valore H01
Variazione
Valore H22
Visualizzazione
Valore AL1
Visualizzazione
Valore AL6
Variazione
Valore AL1
Variazione
Valore AL6
LEGENDA
Tasti UP- Down premuti istantaneamente
Tasto Down premuto per 3 sec.
Tasto SET premuto e rilasciato istantaneamente
il tasto Set premuto per 3 sec, consente di tornare all’inizio (visualizzazione di S1)

Table of Contents

Related product manuals