EasyManua.ls Logo

AERMEC SWP300 S2 - Diagramm Anwenderbereich (Utt); Parametertabelle Anwenderbereich (Utt)

AERMEC SWP300 S2
Print Icon
To Next Page IconTo Next Page
To Next Page IconTo Next Page
To Previous Page IconTo Previous Page
To Previous Page IconTo Previous Page
Loading...
113
SWP_5287500_00
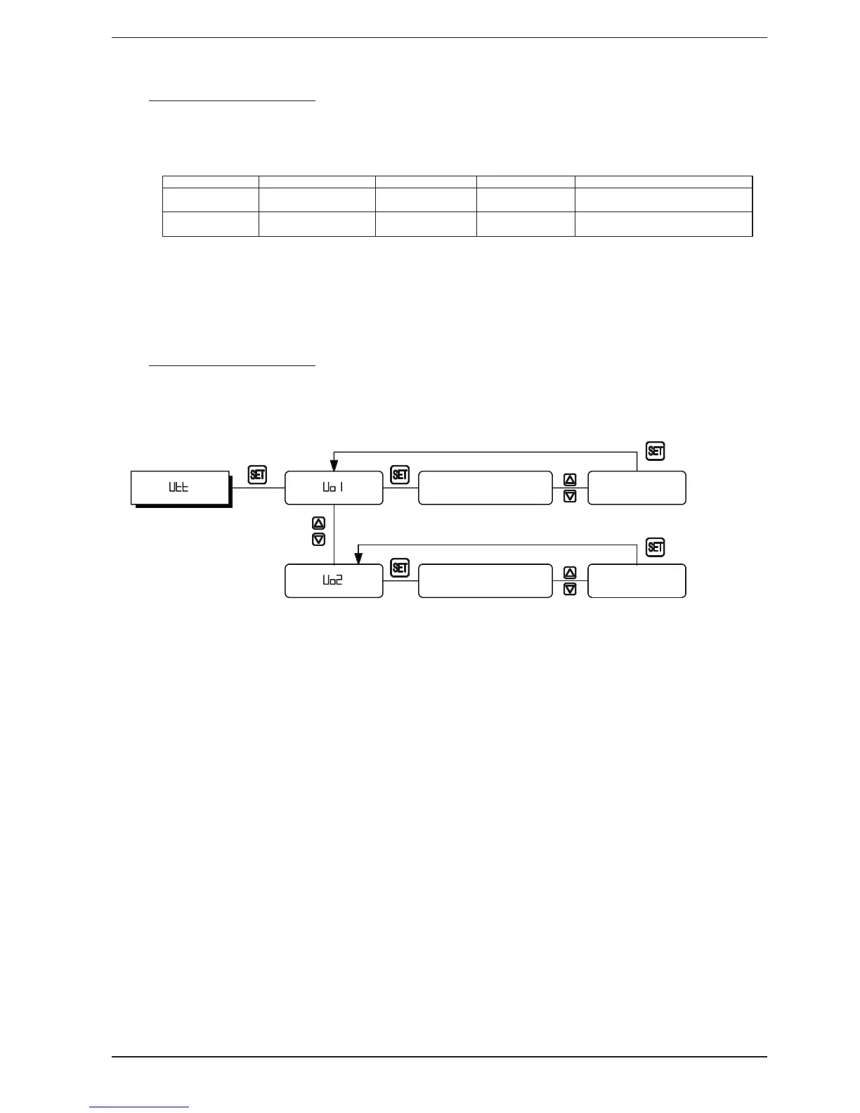
12.2. PARAMETERTABELLE ANWENDER-
BEREICH (UTT)
PARAMETER STANDARD GRENZWERTE EINHEIT BESCHREIBUNG
U01 60,0 H02-H01 °C Set Point Wasser Boiler
(automatische Betriebsweise)
U02 60,0 H02-H27 °C Set Point Wasser Boiler (manuelle
Betriebsweise)
12.3. DIAGRAMM ANWENDERBEREICH
(UTT)
Set Point Wasser Boiler
(automatische Betriebsweise)
Set Point Wasser Boiler (manuelle
Betriebsweise)
Wertänderung Uo1
Wertänderung Uo2

Table of Contents

Related product manuals