EasyManua.ls Logo

AERMEC SWP300 S2 - Diagramme Complet; 12 Fonctionnement Automatique

AERMEC SWP300 S2
Print Icon
To Next Page IconTo Next Page
To Next Page IconTo Next Page
To Previous Page IconTo Previous Page
To Previous Page IconTo Previous Page
Loading...
82
SWP_5287500_00
12. FONCTIONNEMENT
AUTOMATIQUE
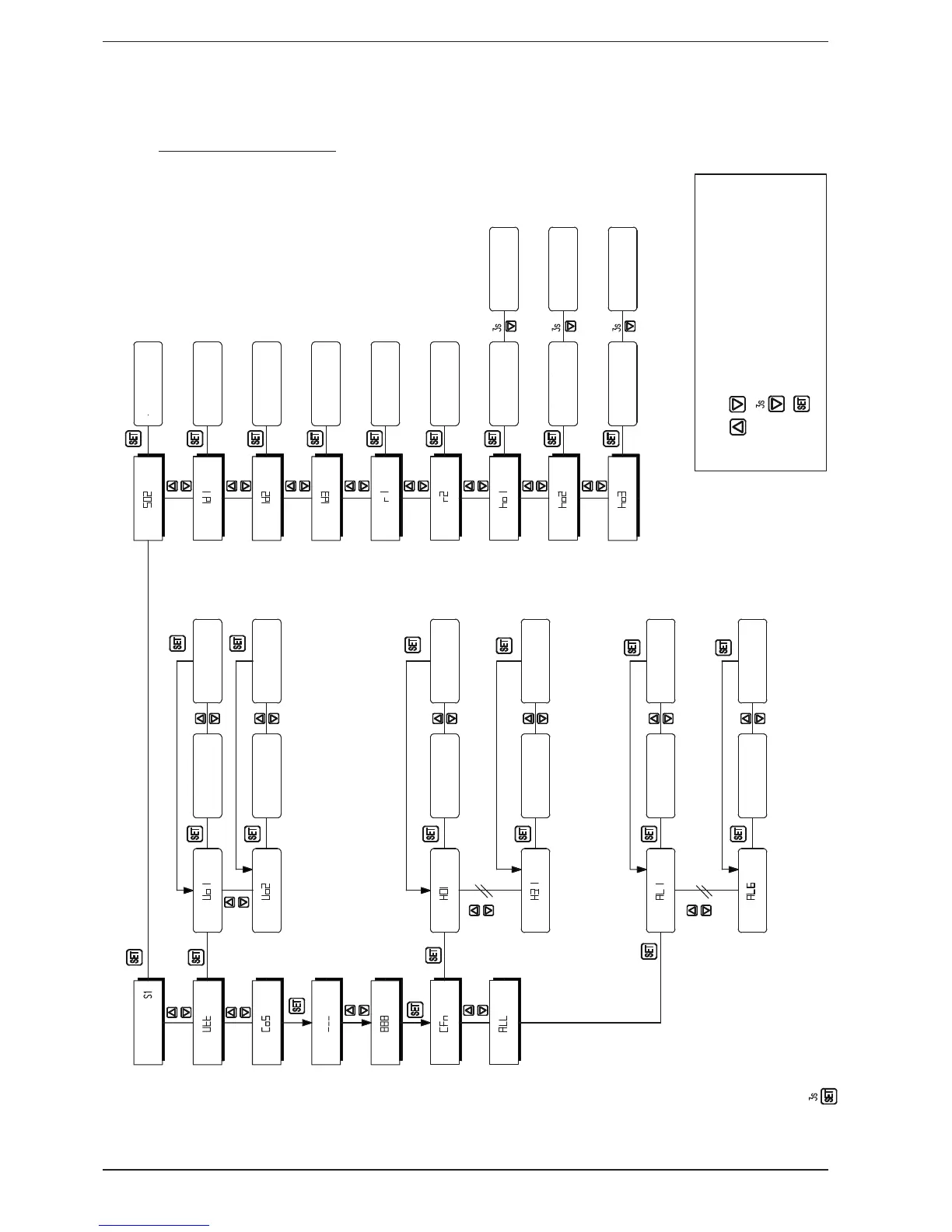
12.1. DIAGRAMME COMPLET
TEMPÉRATURE
Saisie du mot de passe
Confirmation
Du mot de passe
Affichage
Valeur Uo1
Affichage
Valeur Uo2
Variation
Valeur Uo1
Variation
Valeur Uo2
Variation
Température S2
Variation Etat ID1
Variation Etat ID2
Variation Etat ID3
Variation Etat
N01
Variation Etat
N02
Variation heures
PàC
Variation heures
Résistance
Variation heures
totales
Mise à zéro heures
Résistance
Mise à zéro
heures totales
Mise à zéro
heures PàC
Affichage
Valeur H01
Affichage
Valeur H22
Variation
Valeur H01
Variation
Valeur H22
Affichage
Valeur AL1
Affichage
Valeur AL6
Variation
Valeur AL1
Variation
Valeur AL6
LÉGENDE
Touches UP - Down enfoncées simultanément
Touche Down enfoncée pendant 3 sec
Touche SET enfoncée puis relâchée aussitôt
la touche Set enfoncée pendant 3 secondes permet de retourner au début (affichage de S1)

Table of Contents

Related product manuals