EasyManua.ls Logo

Alpha CXPS-C - Figure 50 - External Battery Return Bar Wiring

Alpha CXPS-C
84 pages
Print Icon
To Next Page IconTo Next Page
To Next Page IconTo Next Page
To Previous Page IconTo Previous Page
To Previous Page IconTo Previous Page
Loading...
559400001-J1 Rev F
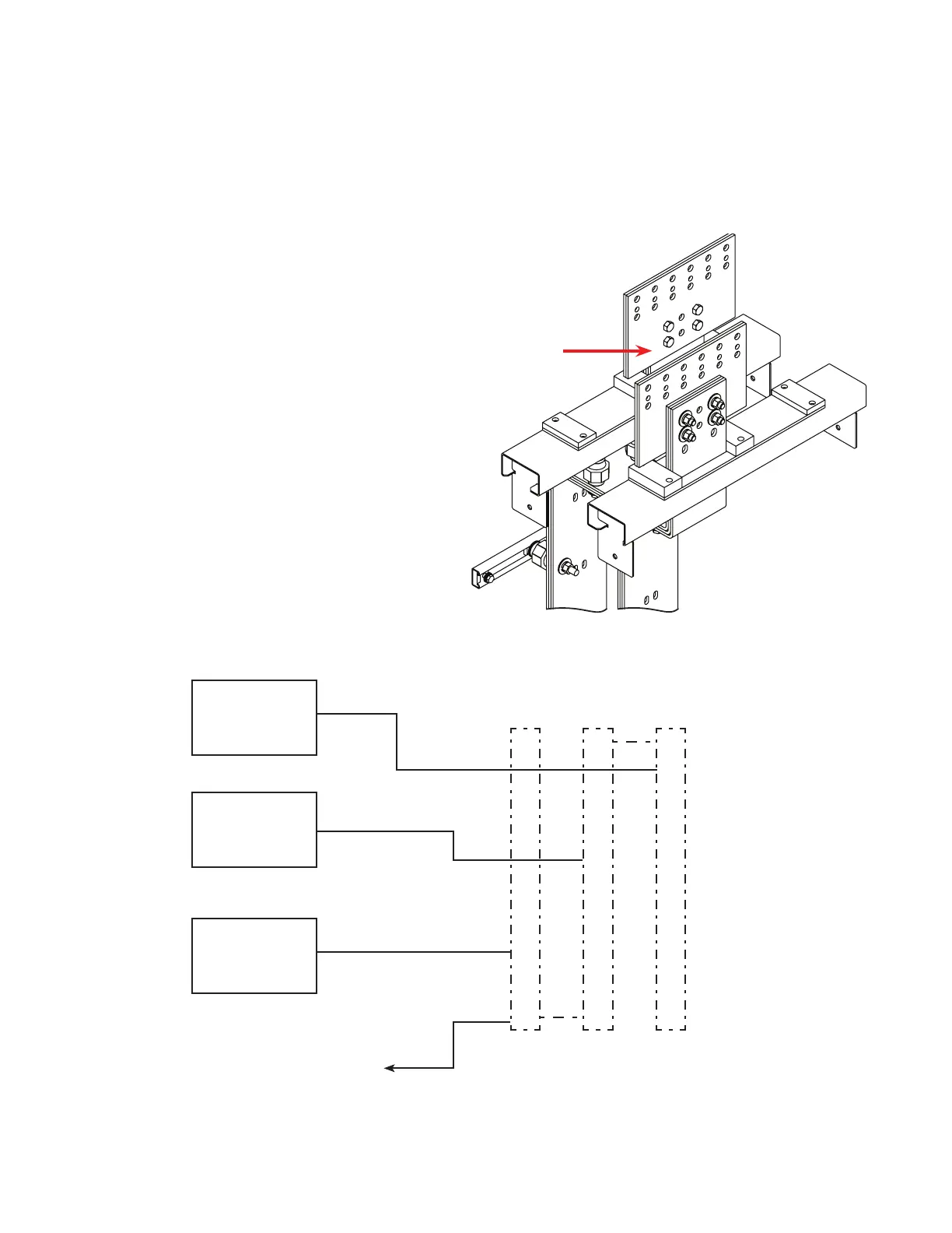
Figure 50 External Battery Return Bar Wiring
4000A Power
bay 1
4000A Power
bay 2
2000A Power
bay 3
5x 750MCM (min)
10x 750MCM (min)
10x 750MCM (min)
To Master Ground Bus
External battery return bar
Power bay positive
return detail
8.4.2 External Battery Return Bar Wiring
Connect the external battery return bar(s) to the associated power bay positive return detail as shown in Figure 50.

Table of Contents

Related product manuals