EasyManua.ls Logo

BMW HP4 - Lights; Parking Lights

BMW HP4
200 pages
Print Icon
To Next Page IconTo Next Page
To Next Page IconTo Next Page
To Previous Page IconTo Previous Page
To Previous Page IconTo Previous Page
Loading...
To switch off the speed warn-
ing: Hold down button 1 until
OFF appears on the display.
Lights
Side light
The side lights switch on auto-
matically when the ignition is
switched on.
The side lights place
a strain on the battery.
Do not switch the ignition
on for longer than absolutely
necessary.
Low-beam headlight
The low-beam headlight switches
on automatically when you start
the engine.
High-beam headlight and
headlight flasher
Start the engine.
Push button 1 forward to
switch on the high-beam
headlight.
Pull button 1 back to operate
the headlight flasher.
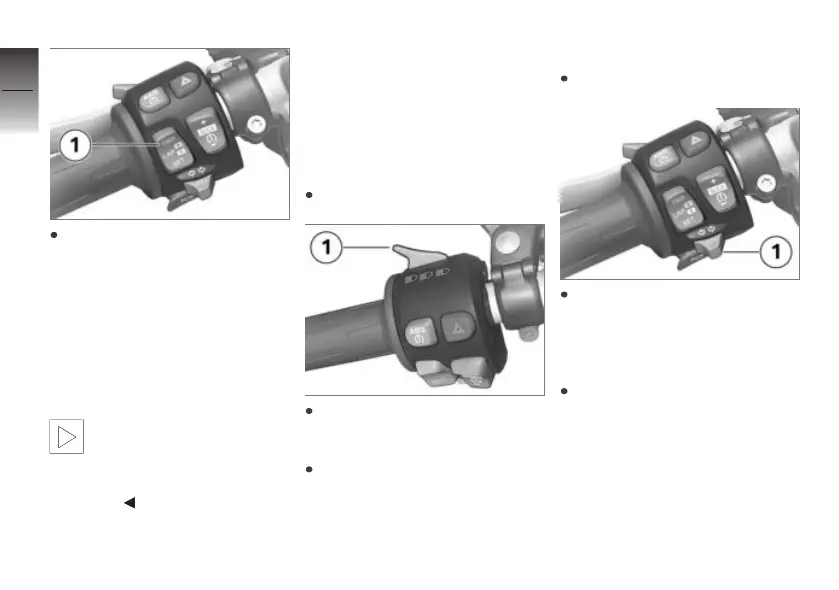
Parking lights
Switch off the ignition.
Immediately after switching off
the ignition, push button 1 to
the left and hold it in this po-
sition until the parking lights
come on.
Switch the ignition on and off
again to switch off the parking
lights.
4
40
z
Operation

Table of Contents

Related product manuals