EasyManua.ls Logo

Boston Multi-DM - System Components Overview; System Diagram

Boston Multi-DM
69 pages
Print Icon
To Next Page IconTo Next Page
To Next Page IconTo Next Page
To Previous Page IconTo Previous Page
To Previous Page IconTo Previous Page
Loading...
Multi-DM™ User Manual Section 5 - System Components Overview
BMC Document Number: DOC-0009 Rev. 5.2 Page 9
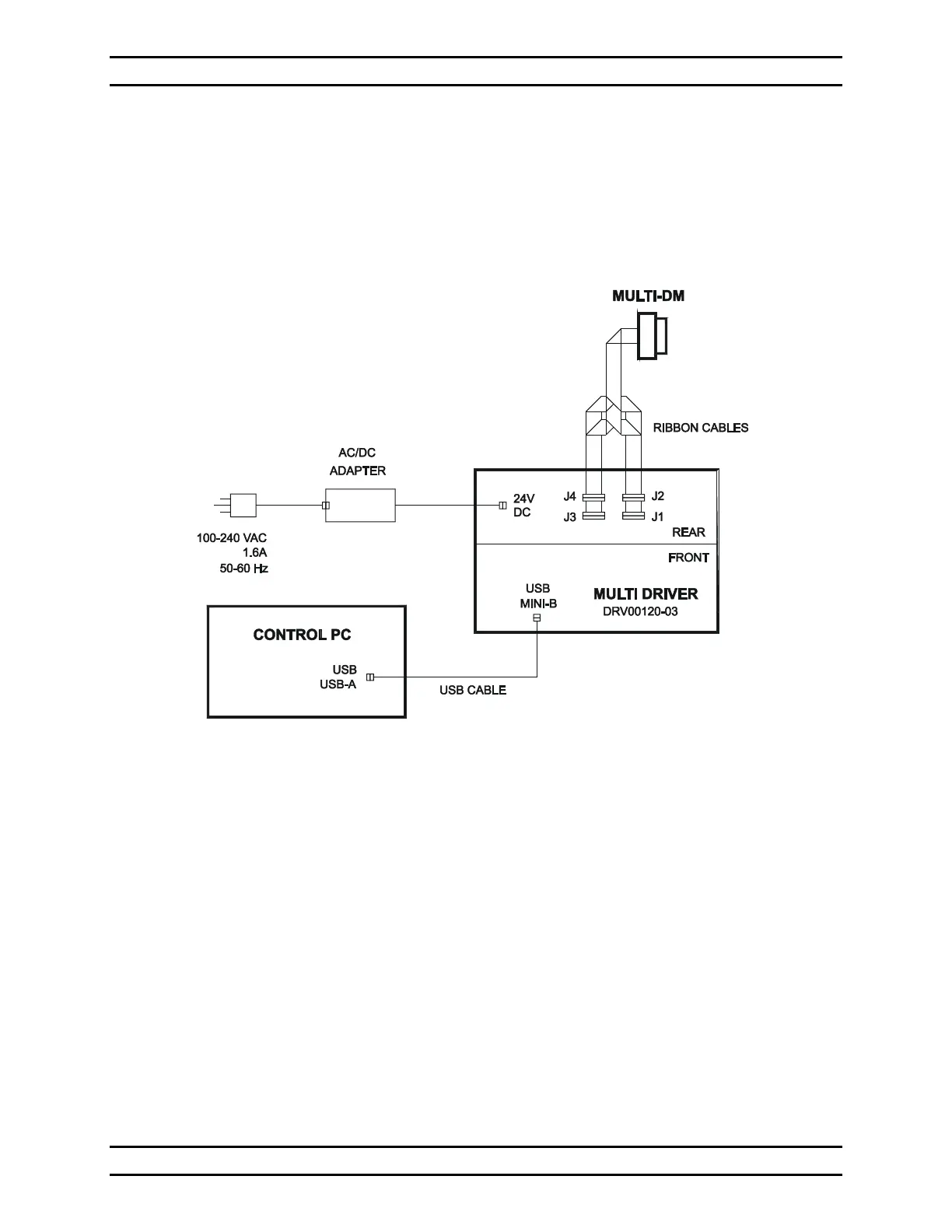
5. System Components Overview
5.1 System Diagram
The Multi-DM System consists of the following components.
Figure 1 - Multi-DM System Diagram
Details on each of these components are in the rest of this section.