EasyManua.ls Logo

Case CX235C SR - Page 212

Case CX235C SR
292 pages
Print Icon
To Next Page IconTo Next Page
To Next Page IconTo Next Page
To Previous Page IconTo Previous Page
To Previous Page IconTo Previous Page
Loading...
6-MAINTENANCE
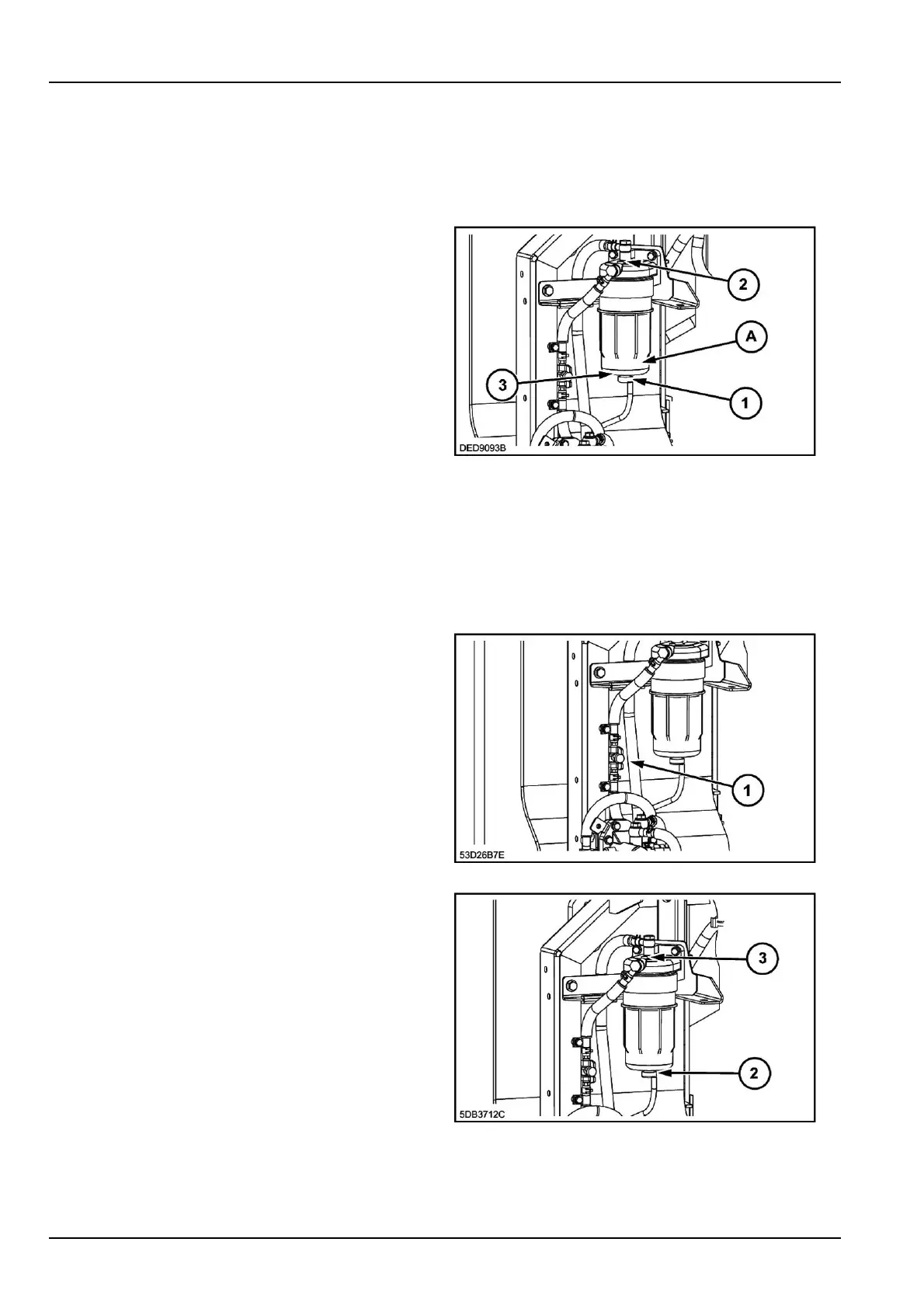
Pre-lterbleeding
Whentheoatreachesthelevelline(A):
1.Placeareceptacleofasuitablecapacityunderthe
pre-lter.
2.Loosenthedrainplug(1)andthebleedscrew(2)then
drainthewaterandsediment.
3.Whentheoat(3)settlesonthebottom,tightenthe
drainplug(1)andthebleedscrew(2).
Tighteningtorque:8-12N·m(5.9-8.9lbft)
ATTENTION:Overtighteningcandamagetheseal.
4.Checkforanysignsofleak.
NOTICE:Incoldweather,thewatercanfreezeonthetop
partofthebowl.Bleedaftertheicehasmelted.
DED9093B2
Replacingthepre-lterelement
ATTENTION:IfafuellterotherthanagenuineCASE
CONSTRUCTIONlterisused,theguaranteewillnotbe
appliedtoafaultcausedbytheuseofawronglter.
1.Placeareceptacleofasuitablecapacityunderthe
pre-lter.
2.Closethevalve(1)onthesupplyline.
53D26B7E3
3.Loosenthedrainplug(2)andthebleedscrew(3)then
drainthefuelandsedimentsfromthepre-lter.
5DB3712C4
6-28

Table of Contents

Related product manuals