EasyManua.ls Logo

Castolin Eutectic CastoTIG - Page 74

Castolin Eutectic CastoTIG
79 pages
Print Icon
To Next Page IconTo Next Page
To Next Page IconTo Next Page
To Previous Page IconTo Previous Page
To Previous Page IconTo Previous Page
Loading...
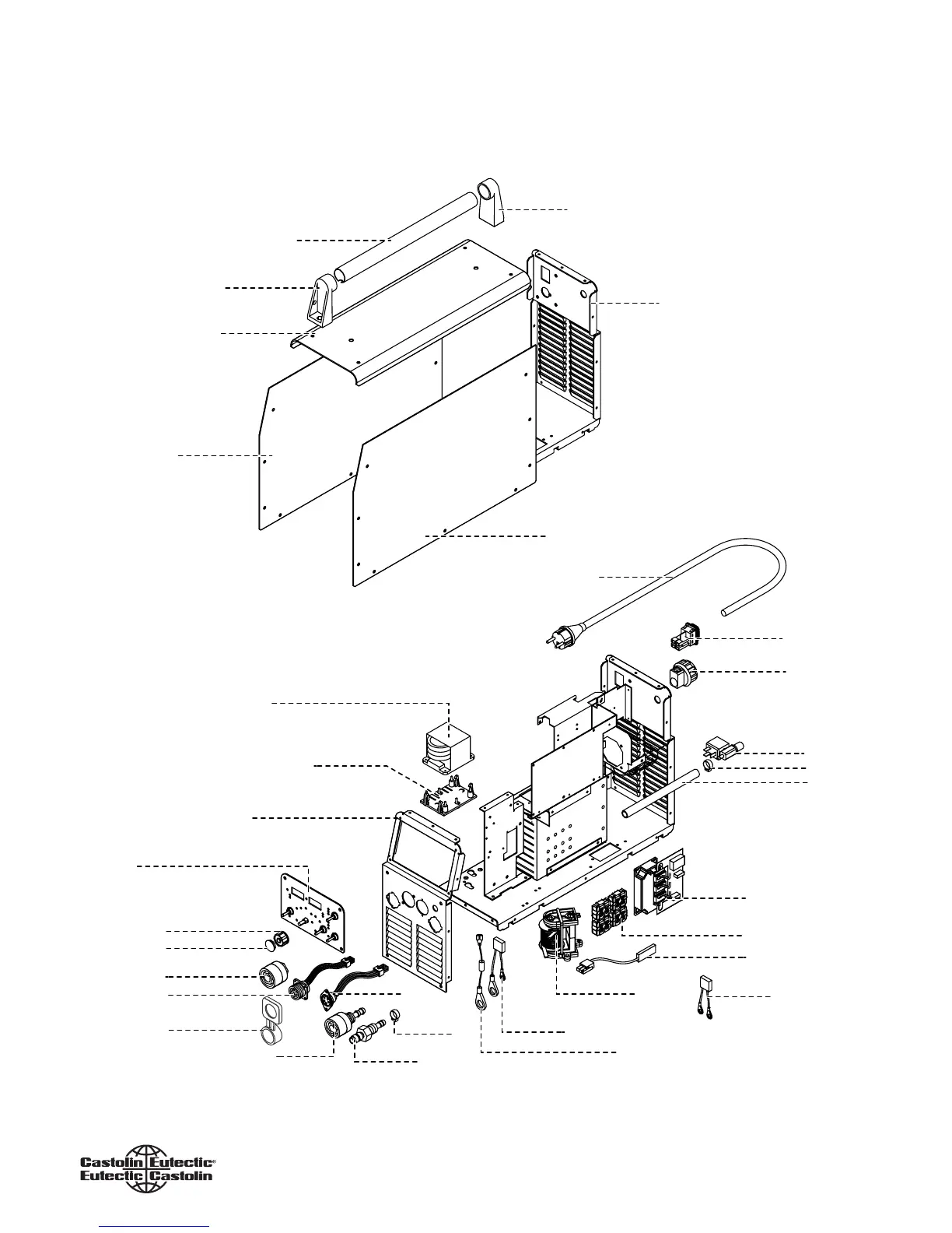
Ersatzteilliste / Spare parts list / Listes de pièces de rechange / Lista de repuestos / Lista de pecas sobresselentes / Lista dei Ricambi
CastoTig 1702 / 2201 / 2202
1/2
el_ca_st_wi_00704 012003
* gewünschte Länge angeben
* Specify the length required
* Indiquer la longueur désirée
* Indicar la longitud deseada
* Indicare la lunghezza desiderat
* indicar o comprimento desejado
304933
304932
301160
304945
304920
300696
301072
304928
300772
300643
301967
300876
304934
301162 - *
304918 - CT1702
304917 - CT2201/CT2202
304939
304938 - CT2201
304940
304927
Castotig 2202 AC/DC 304902
Castotig 2201 DC 304901
Castotig 1702 AC/DC 304900
304942 - CT1702/CT2202
304943 - CT2201
304946
303140
304936 - CT1702
304937 - CT2201
304935 - CT2202
304947
304934
304931
304950
304948
304949
304951
300858
300860
300860

Table of Contents

Related product manuals