EasyManua.ls Logo

Chore-Time 55 - Feed Level Control Installation; Hopper Level Control Switch (Single Phase) Wiring; Hopper Level Control Switch (Three Phase) Wiring

Default Icon
54 pages
Print Icon
To Next Page IconTo Next Page
To Next Page IconTo Next Page
To Previous Page IconTo Previous Page
To Previous Page IconTo Previous Page
Loading...
Installation Model 55,75,90, & HMC FLEX-AUGER
30
MA1702D
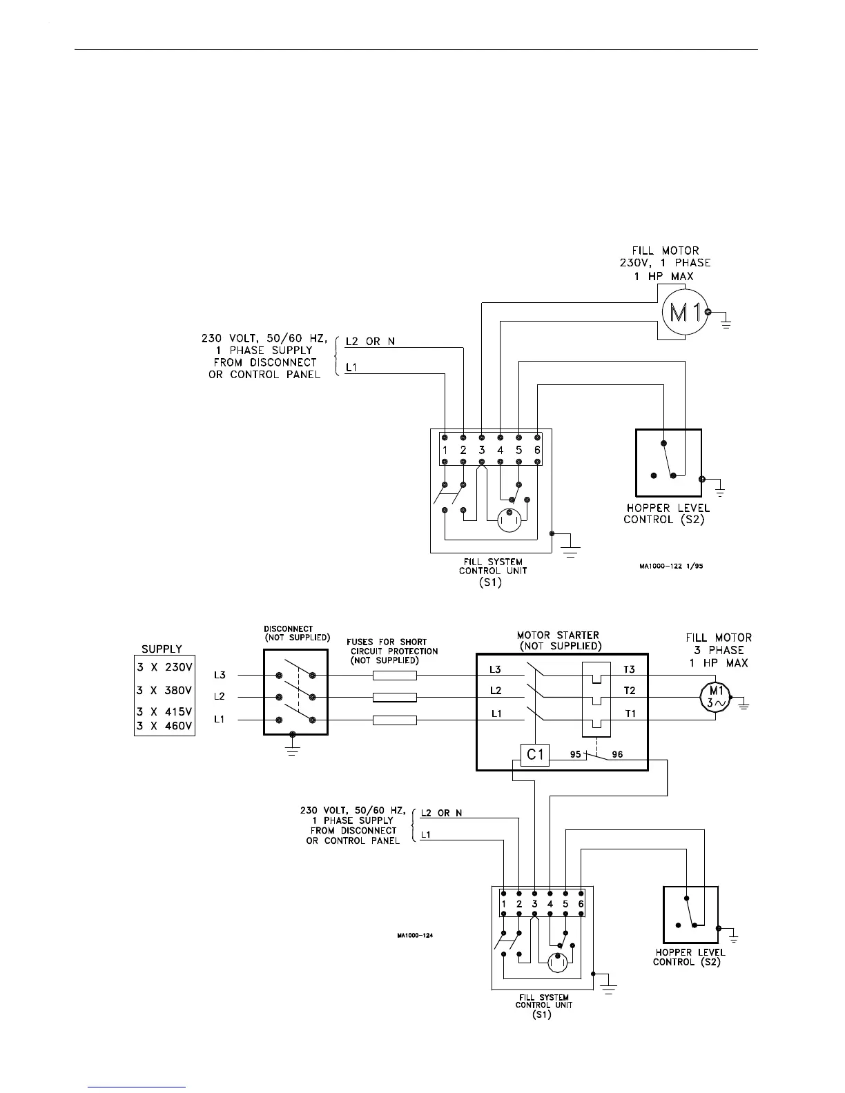
Feed Level Control Installation
The Hopper Level Control (or Drop Tube Switch) is installed in the feed hopper (or in the drop tube over the
feeder) at the power unit end of the line. This feed flow control switch stops the FLEX-AUGER System when the
last feeder is full. Install the hopper level control or drop tube switch according to instructions shipped with the
unit.
The wiring diagram for each type of delivery system shows how the hopper level control (drop tube switch is the
same) must be wired into the control unit.
Hopper Level Control Switch (Single Phase) Wiring
Hopper Level Control Switch (Three Phase) Wiring
Important! If system is to be
controlled by another style
switch, please refer to applicable
instruction.
Important! If a time clock is to
be used to control system, please
refer to applicable instruction.
Important:If a time clock is to be
used to control system, please
refer to applicable instruction.
Important! If system is to be
controlled by another style
switch, please refer to applicable
instruction.

Table of Contents

Other manuals for Chore-Time 55

Related product manuals