EasyManua.ls Logo

Cisco Catalyst IW9167E - Attaching a Power Adapter Using the Mounting Bracket AIR-ACCPMK3700-2

Cisco Catalyst IW9167E
78 pages
Print Icon
To Next Page IconTo Next Page
To Next Page IconTo Next Page
To Previous Page IconTo Previous Page
To Previous Page IconTo Previous Page
Loading...
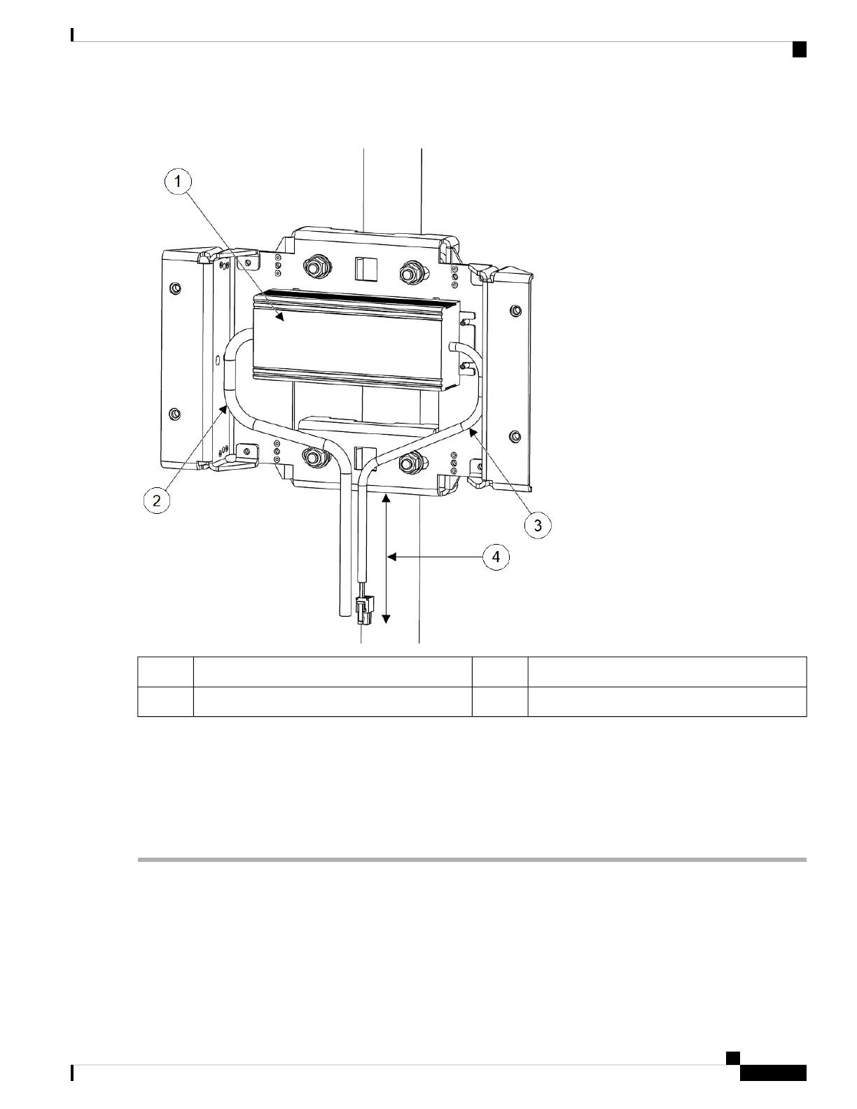
Figure 13: Power Adapter Installed Using Mounting Bracket AIR-ACCPMK3700=
DC Output Cable3Power Adapter1
10 inches Minimum Length4Tie Wraps2
Step 3 Ensure that the excess cable is bundled and tie wrapped to the mounting bracket. Route the cable as shown in the figure
in Step 2.
Step 4 Ensure that there is 10 inches minimum length from the bottom edge of the power supply to the end of the connector as
shown in the figure in Step 2.
Step 5 Attach the access point to the mounting plate as described in Step 2 and Step 3 of Using the Mounting Bracket
AIR-ACCPMK3700= , on page 24.
Attaching a Power Adapter Using the Mounting Bracket AIR-ACCPMK3700-2=
To attach a power adapter (IW-PWRADPT-MFIT4P=) to the access point on a pole using the mounting
bracket AIR-ACCPMK3700-2=, use the following procedures:
Cisco Catalyst IW9167E Heavy Duty Access Point Hardware Installation Guide
31
Installation Overview
Attaching a Power Adapter Using the Mounting Bracket AIR-ACCPMK3700-2=

Table of Contents

Related product manuals