EasyManua.ls Logo

Cisco Nexus 7000 - Connecting the DC Power Supply to a Power Source through a PIU

Cisco Nexus 7000
508 pages
Print Icon
To Next Page IconTo Next Page
To Next Page IconTo Next Page
To Previous Page IconTo Previous Page
To Previous Page IconTo Previous Page
Loading...
6-26
Cisco Nexus 7000 Series Hardware Installation and Reference Guide
OL-23069-07
Chapter 6 Installing Power Supplies
Connecting a DC Power Supply to DC Power Sources
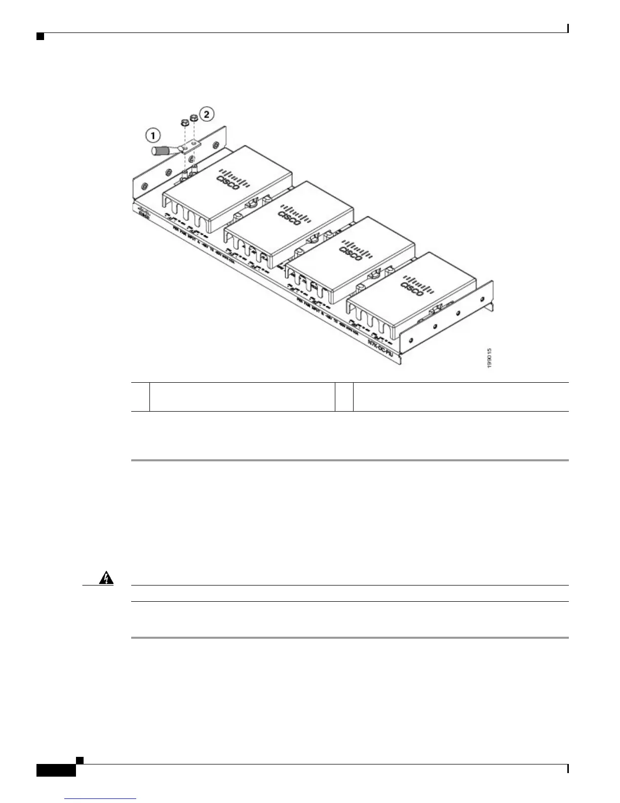
Figure 6-14 Grounding the PIU
Step 6 Prepare the other end of the grounding wire and connect it to an appropriate grounding point in your site
to ensure an adequate earth ground for the PIU.
Connecting the DC Power Supply to a Power Source Through a PIU
Before you begin connecting the DC power supply, make sure that the power supply and the PIU are
located so that you can connect them with the power cable that you are connecting to the power supply.
For the 6-kw power supply, this 15-foot (4.6-m) cable ships with the power supply. For the 3-kw power
supply, you supply the 6-AWG power cables.
Warning
Read the installation instructions before connecting the system to the power source.
Statement 1004
To connect the DC power supply to DC power sources through a power interface unit, follow these steps:
Step 1 Make sure that the power is turned off for the portion of the DC grid power that you are connecting to.
Step 2 Make sure that the power supply is set to standby (labelled as STBY or 0).
Step 3 Size the power cables to the distance between the power supply and the PIU. If you need to cut the cable,
cut it at the ends that connect to the PIU, remove 0.75 in. (19 mm) of insulation from the cut end, and
reattach the spade connector to the bare ends.
1 Place the grounding lug on grounding
posts.
2 Fasten the lug to the PIU using two M6 nuts and
tighten to 40 in-lb (4.5 N·m).

Table of Contents

Other manuals for Cisco Nexus 7000

Related product manuals