EasyManua.ls Logo

CYBEX FT-360S - Installing Weight Stack

CYBEX FT-360S
86 pages
Print Icon
To Next Page IconTo Next Page
To Next Page IconTo Next Page
To Previous Page IconTo Previous Page
To Previous Page IconTo Previous Page
Loading...
Cybex FT-360S Functional Trainer Owner’s Manual
Installing Weight Stacks
WARNING: Use extreme caution when installing the weight stack. Failure to do so could
result in injury.
NOTE: Two people will be required to perform this procedure.
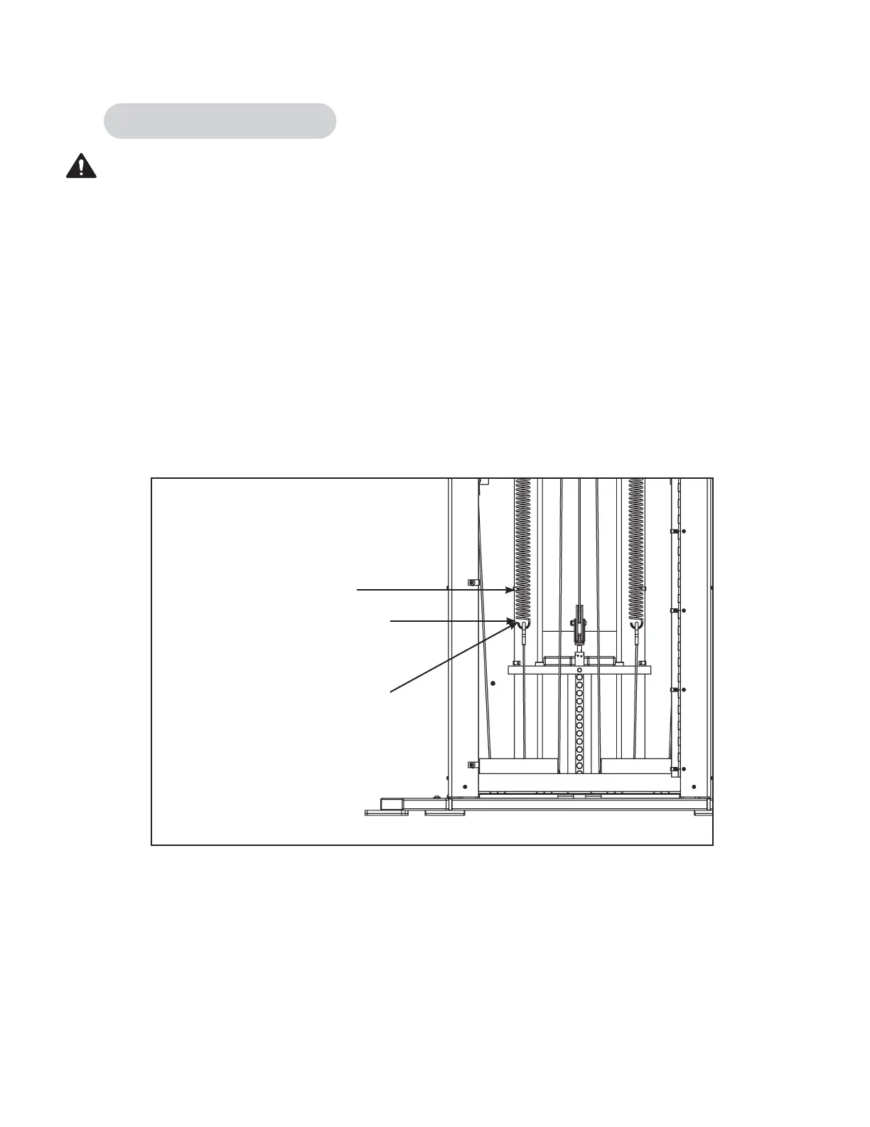
1. Disconnect lower end of each spring (refer to steps 1A - 1F and Figure 1).
Move arm to #10 position. A.
Firmly grasp lower end of spring.B.
Stretch spring downward with one hand.C.
With your other hand, remove cable end connector from spring (hook).D.
Carefully release spring and set cable down.E.
Repeat steps 1A - 1E to disconnect lower end of other spring.F.
Grasp spring in this area
Stretch spring downward and
remove hook from cable end
connector
NOTE: Hooks may face either
direction (toward or away from
the other spring).
Figure 1
Assembly
Page 6-6

Related product manuals