EasyManua.ls Logo

Daikin brp069a42 - Page 85

Daikin brp069a42
161 pages
Print Icon
To Next Page IconTo Next Page
To Next Page IconTo Next Page
To Previous Page IconTo Previous Page
To Previous Page IconTo Previous Page
Loading...
84
• Control systems
• intelligent Touch Manager • ED721208
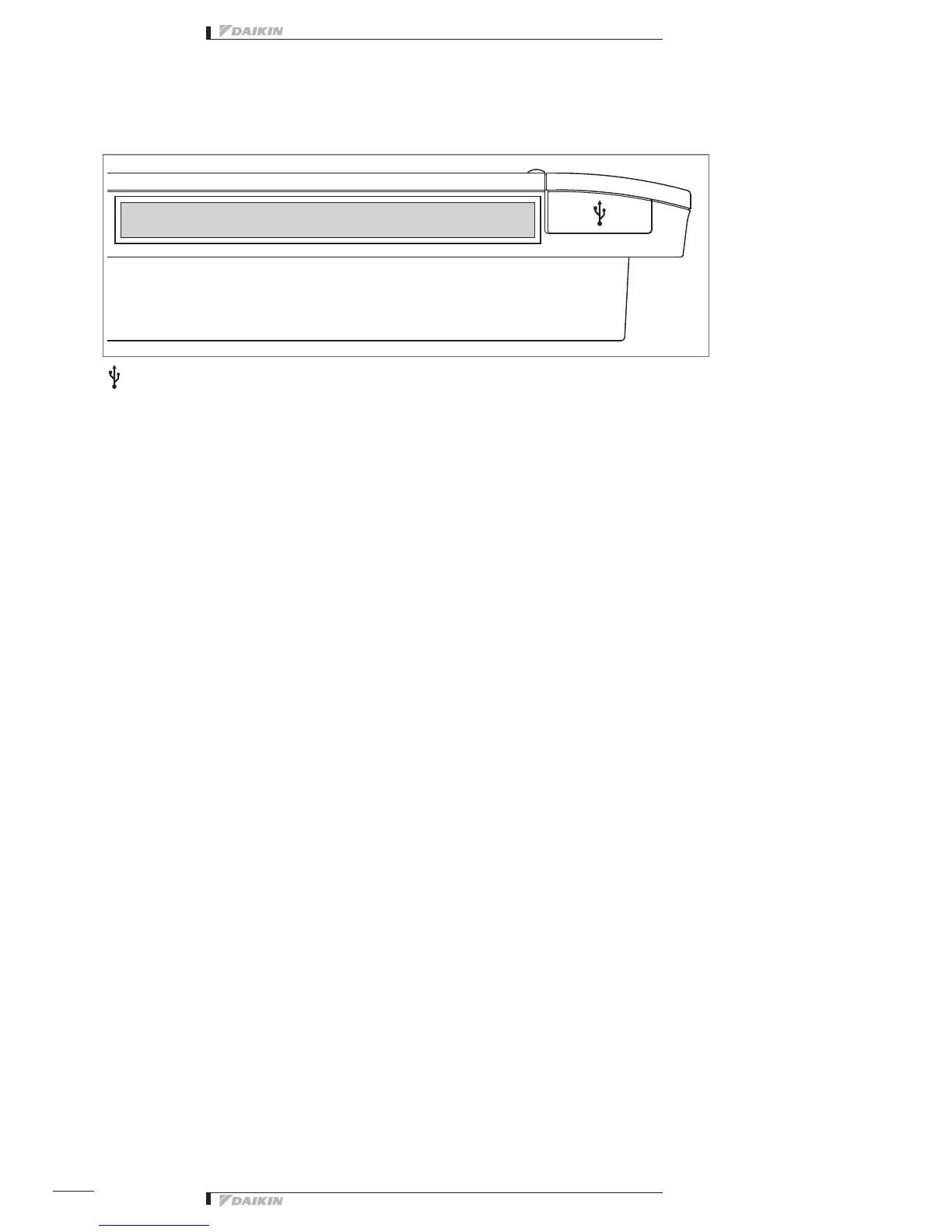
Side face
On the left side face of the iTM integrator, a USB port cover is provided. You use this cover during setup after installation or during
maintenance. You also see an attached label, bearing the model, weight, power ratings and the serial number of the iTM integrator.
<Side face of iTM integrator>
[ ] Pulling up the rubber cover reveals a USB socket. This socket can be raised 90 degrees, so you can plug in a USB device to it
from the front direction when there is no clearance from the side edge of the unit.
Determining installation place
Be sure to install the iTM integrator in a place that meets the conditions described in 1.4.1 through 1.4.3 below.
Installation place and mounting direction
Below are the description of the installation place and mounting direction. Be sure to confirm.
• Installation place: Indoor, free from dust and water splashes
• Mounting direction: Vertical
Environmental conditions
Make sure that the installation environment meets the following conditions.
The ambient temperature must be 0 to 40 °C.
The ambient humidity must be 85% RH or less (without condensation).
There must be no electromagnetic disturbance.

Table of Contents

Related product manuals