EasyManua.ls Logo

DCS RGSC-305 - Page 50

DCS RGSC-305
58 pages
Print Icon
To Next Page IconTo Next Page
To Next Page IconTo Next Page
To Previous Page IconTo Previous Page
To Previous Page IconTo Previous Page
Loading...
PRELIMINARY
50
EARLY MODELS
NEWER MODELS
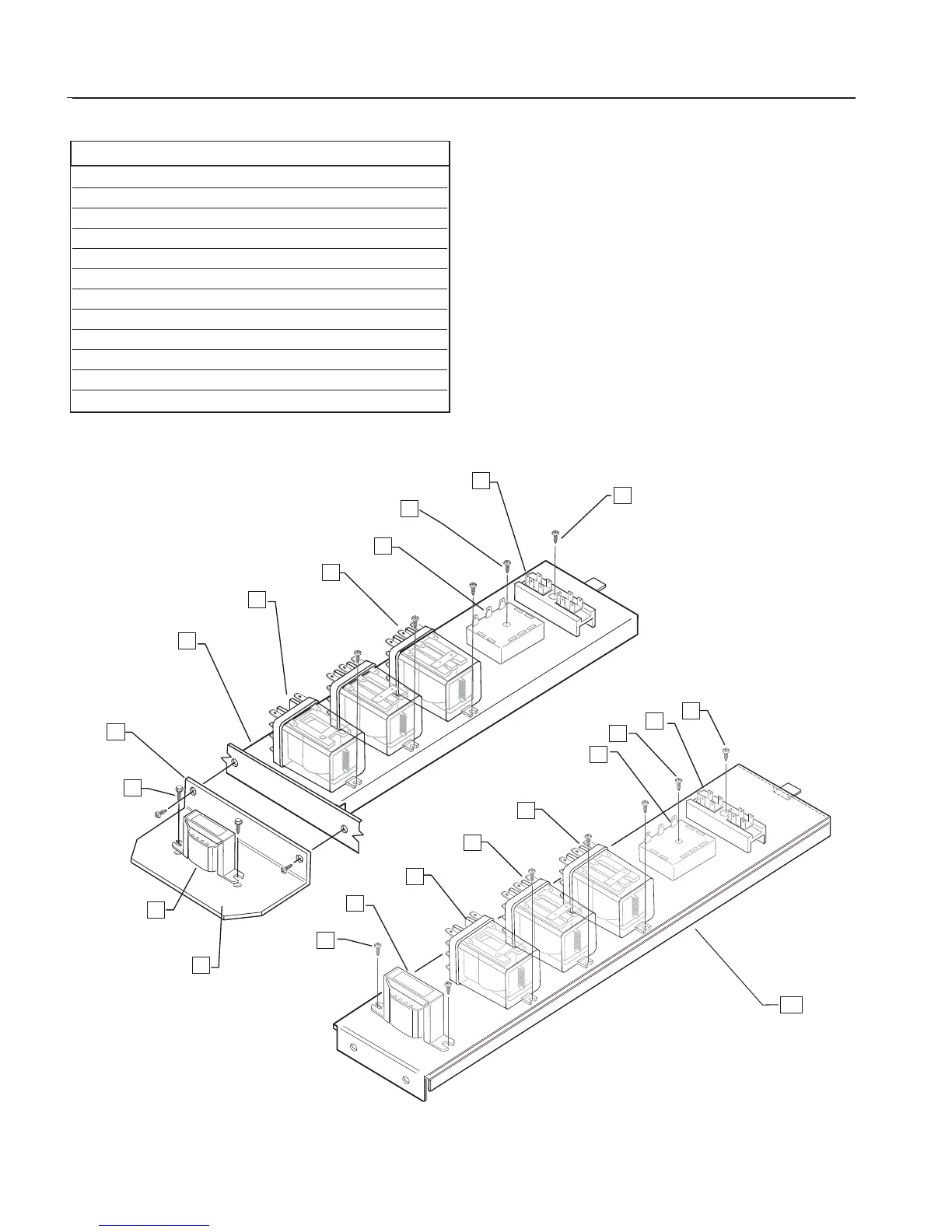
ITEM PART NO. DESCRIPTION
1 15001-31 SCREW
2 16352 TERMINAL BLOCK
3 15001-31 SCREW (2 PLCS)
4 16044-2 CLEAN TIMER
5 16045-3 RELAY (2 PLCS)
6 16045-2 RELAY
7 91509 ELEC.COMPONENTS BRACKET
7A 91509 (NEW) ELEC.COMPONENTS BRACKET
8 15001-19 SCREW (2PLCS)
9 15001-41 SCREW
10 16464 TRANSFORMER
11 91711 TRANSFORMER BRACKET
LOWER ELECTRICAL ASSEMBLY
1
2
3
4
5
6
7
8
9
10
11
7A
1
2
1
4
5
5
6
10
9

Other manuals for DCS RGSC-305

Related product manuals