EasyManua.ls Logo

Delta DVP-PM Series - Page 162

Delta DVP-PM Series
561 pages
To Next Page IconTo Next Page
To Next Page IconTo Next Page
To Previous Page IconTo Previous Page
To Previous Page IconTo Previous Page
Loading...
5 Categories and Use of Basic Application Instructions
DVP-PM Application Manual 5-25
API Mnemonic Operands Function
12
D MOV P
Move
Controllers
20PM 10PM
Bit Devices Word Devices Program Steps
Type
OP
X Y M S K H KnX KnY KnM KnS T C D V Z
S
* * * * * * * * ***
D
* * * * * ***
MOV, MOVP: 5 steps
DMOV, DMOVP: 6 steps
Operands:
S: Source of data D: Destination of data
Explanations:
1. When this instruction is executed, the content of S will be moved directly to D. When this instruction is not
executed, the content of D remains unchanged
2. When MOV is used as 16-bit instruction, Z device cannot be adopted; when MOV is used as 32-bit instruction, V
device cannot be adopted.
3. For moving 32-bit operation results of certain instructions (e.g. MUL), DMOV instruction has to be applied.
Program Example:
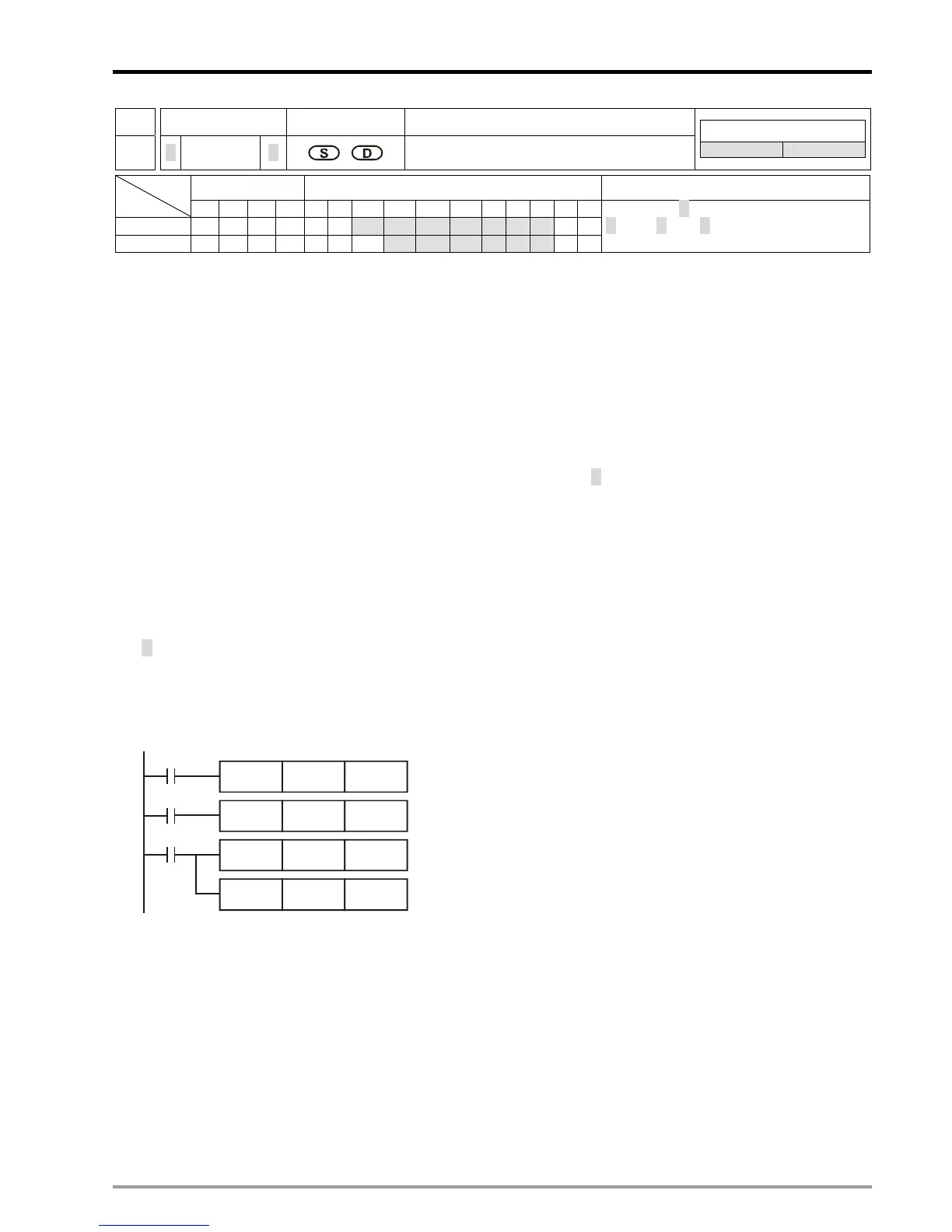
1. MOV will move a 16-bit value from the source location to the destination.
a) When X0 = OFF, the content of D0 remains unchanged. If X0 = ON, the data K10 is moved to D0.
b) When X1 = OFF, the content of D10 remains unchanged. If X1 = ON, the data of K2M4 is moved to D10
data register.
2. DMOV will move a 32-bit value from the source location to the destination.
a) When X2 = OFF, the content of (D31, D30) and (D41, D40) remain unchanged.
b) When X2 = ON, the data of (D21, D20) is moved to (D31, D30) data register. Meanwhile, the data of C235 is
moved to (D41, D40) data register.
X0
MOV K10 D0
X1
MOV
K2M4
D10
X2
DMOV D20
D30
DMOV
D50
D40

Table of Contents

Related product manuals