EasyManua.ls Logo

Delta DVP-PM Series - Page 172

Delta DVP-PM Series
561 pages
To Next Page IconTo Next Page
To Next Page IconTo Next Page
To Previous Page IconTo Previous Page
To Previous Page IconTo Previous Page
Loading...
5 Categories and Use of Basic Application Instructions
DVP-PM Application Manual 5-35
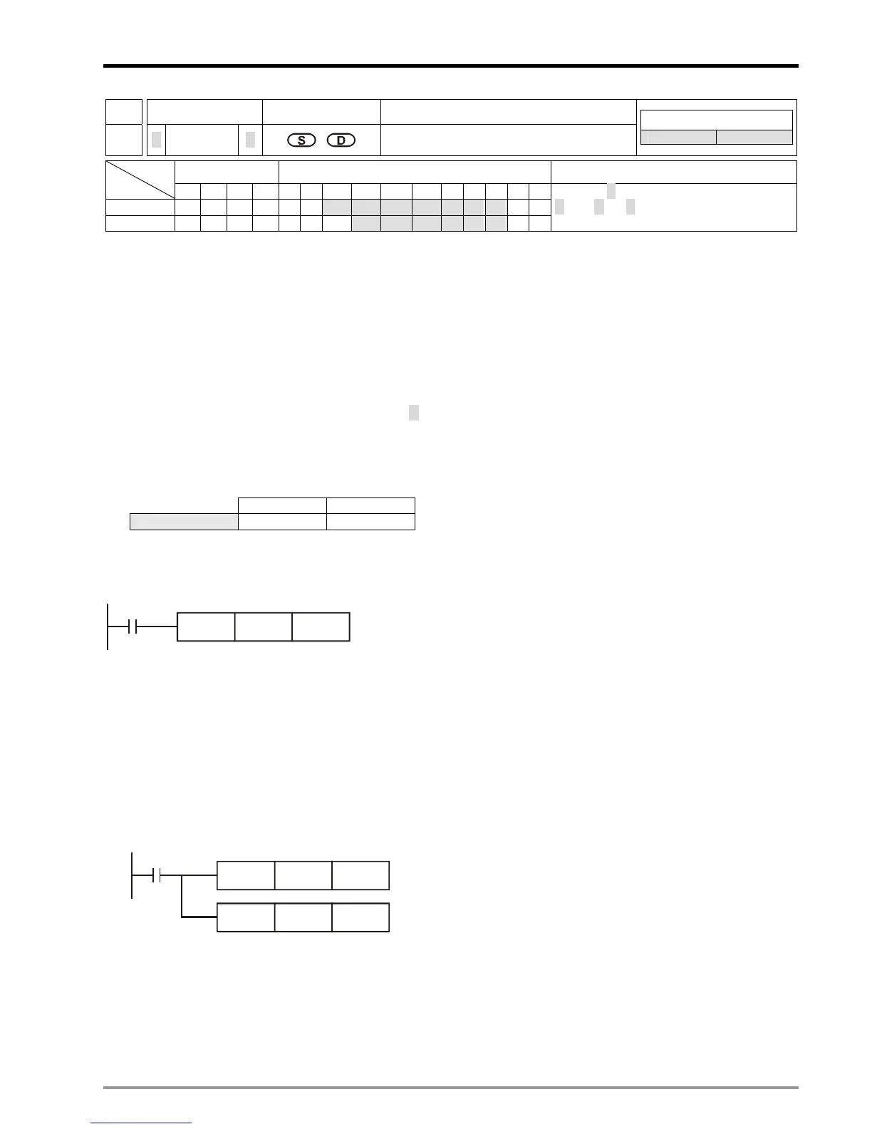
API Mnemonic Operands Function
19
D BIN P
Convert BCD to BIN
Controllers
20PM 10PM
Bit Devices Word Devices Program Steps
Type
OP
X Y M S K H KnX KnY KnM KnS T C D V Z
S
* * * * * * ***
D
* * * * * ***
BIN, BINP: 5 steps
DBIN, DBINP: 6 steps
Operands:
S: Source of data D: Result of conversion
Explanations:
1. The content in S (BCD value) is converted into BIN value and stored in D
2. When BIN is used as 16-bit instruction, Z device cannot be adopted; when BIN is used as 32-bit instruction, V
device cannot be adopted.
3. The valid range of source S: BCD (0 to 9,999), D BCD (0 to 99,999,999)
4. Constant K and H will automatically be converted into BIN format, therefore BIN instruction do not need to be
adopted for constants.
5. Flags:
OX O100
Operation error M1793 M1953
Program Example:
When X0 = ON, the BCD value in K1M0 will be converted into BIN value and stored in D10.
X0
BIN D10K1M0
Points to note::
1. When DVP-PM needs to read an external DIP switch in BCD format, BIN instruction has to be first adopted to
convert the read data into BIN value and store the data in PLC.
2. On the contrary when DVP-PM needs to display a value on a BCD format 7-segment displayer, BCD instruction
is required to convert the internal data into BCD value then sent the value to the displayer.
3. When X0 = ON, the BCD value of K4X0 is converted into BIN value and sent to D100. The BIN value of D100
will then be converted into BCD value and sent to K4Y20.
X0
BIN D100K4X0
BCD D100 K4Y20

Table of Contents

Related product manuals