EasyManua.ls Logo

Delta DVP-PM Series

Delta DVP-PM Series
561 pages
To Next Page IconTo Next Page
To Next Page IconTo Next Page
To Previous Page IconTo Previous Page
To Previous Page IconTo Previous Page
Loading...
5 Categories and Use of Basic Application Instructions
DVP-PM Application Manual 5-41
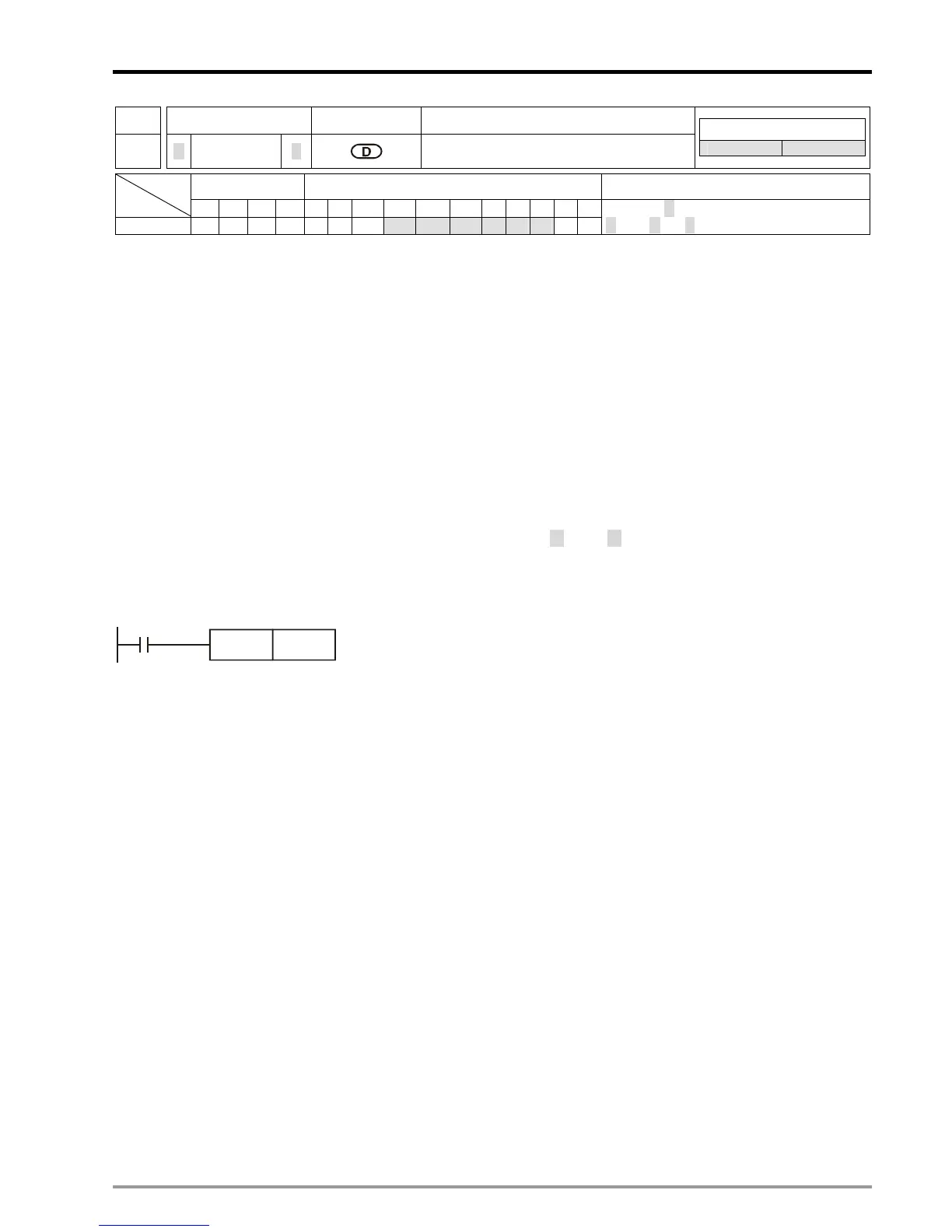
API Mnemonic Operands Function
24
D INC P
Increment
Controllers
20PM 10PM
Bit Devices Word Devices Program Steps
Type
OP
X Y M S K H KnX KnY KnM KnS T C D V Z
D
* * * * * ***
INC, INCP: 3 steps
DINC, DINCP: 3 steps
Operands:
D: Destination device
Explanations:
1. If the instruction is not used in pulse execution mode, the content in the designated device D will plus “1” in
every scan period
2. When INC is executed, the content in D will be incremented. However, in 16-bit instruction, if +32,767 is reached
and “1” is added, it will write a value of –32,768 to the destination. In 32-bit instruction, if +2,147,483,647 is
reached and “1” is added, it will write a value of -2,147,483,648 to the destination.
3. When INC is used as 16-bit instruction, Z device cannot be adopted; when INC is used as 32-bit instruction, V
device cannot be adopted.
4. This instruction is generally used in pulse execution mode (INC P, DINC P).
Program Example:
When X0 is triggered, the content of D0 will be incremented by 1.
X0
INCP D0

Table of Contents

Related product manuals