EasyManua.ls Logo

Delta DVP-PM Series

Delta DVP-PM Series
561 pages
To Next Page IconTo Next Page
To Next Page IconTo Next Page
To Previous Page IconTo Previous Page
To Previous Page IconTo Previous Page
Loading...
5 Categories and Use of Basic Application Instructions
DVP-PM Operation Instruction
5-42
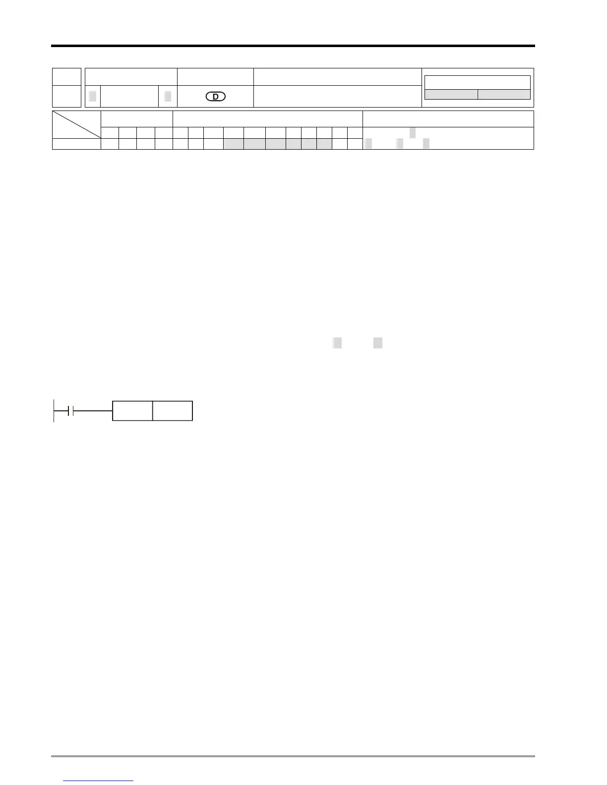
API Mnemonic Operands Function
25
D DEC P
Decrement
Controllers
20PM 10PM
Bit Devices Word Devices Program Steps
Type
OP
X Y M S K H KnX KnY KnM KnS T C D V Z
D
* * * * * ***
DEC, DECP: 3 steps
DDEC, DDECP: 3 steps
Operands:
D: Destination device
Explanations:
1. If the instruction is not used in pulse execution mode, the content in the designated device D will minus “1” in
every scan period.
2. When DEC is executed, the content in D will be decremented. However,
in 16-bit instruction, if –32,768 is
reached and “1” is minused, it will write a value of +32,767 to the destination. In 32-bit instruction, if
-2,147,483,648 is reached and “1” is minused, it will write a value of +2,147,483,647 to the destination
3. When DEC is used as 16-bit instruction, Z device cannot be adopted; when DEC is used as 32-bit instruction, V
device cannot be adopted.
4. This instruction is generally used in pulse execution mode (DEC P, DDEC P)
Program Example:
When X0 is triggered, the value in D0 will be decremented by 1.
X0
DECP D0

Table of Contents

Related product manuals