EasyManua.ls Logo

DG Flugzeugbau LS8 - Drain Orifices (LS8-A); Primary and Secondary Structure

Default Icon
109 pages
Print Icon
To Next Page IconTo Next Page
To Next Page IconTo Next Page
To Previous Page IconTo Previous Page
To Previous Page IconTo Previous Page
Loading...
Maintenance Manual LS8
Issued: March 2016 TN8024
Copyright DG Flugzeugbau GmbH - any copy or publishing prohibited
Manual valid with the up-to-date cover page only
1-19
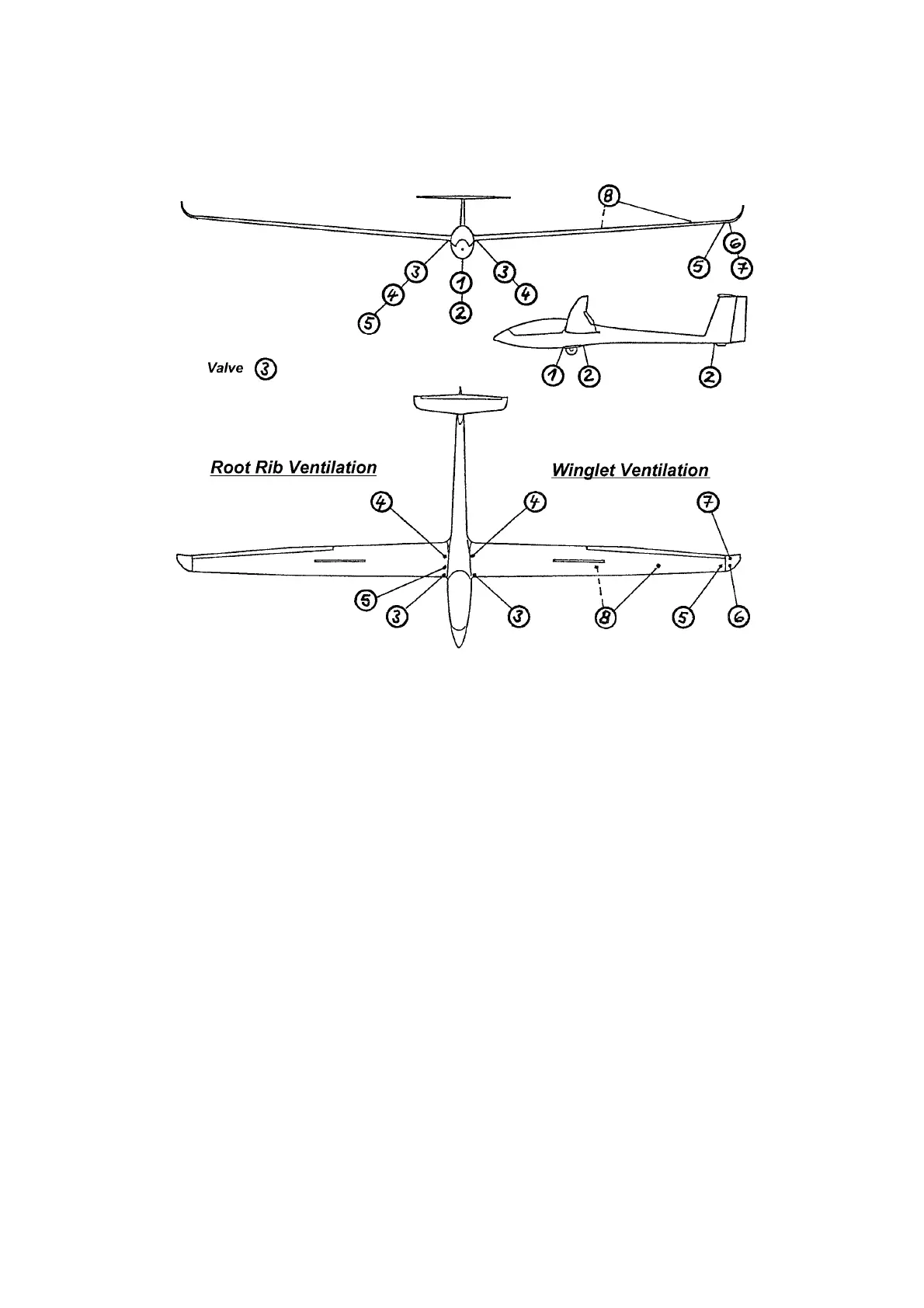
1.15.2 Drain orifices (LS8-a)
1.16 Primary and secondary structure
No secondary structure available

Table of Contents

Related product manuals