EasyManua.ls Logo

DG Flugzeugbau LS8 - Page 70

Default Icon
109 pages
Print Icon
To Next Page IconTo Next Page
To Next Page IconTo Next Page
To Previous Page IconTo Previous Page
To Previous Page IconTo Previous Page
Loading...
Maintenance Manual LS8
Issued: December 2009
Copyright DG Flugzeugbau GmbH - any copy or publishing prohibited
Manual valid with the up-to-date cover page only
4-17
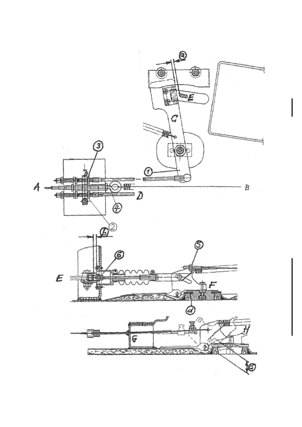
Sketch 3
LS8-b and LS8-a and LS8-18 with integral tail tank
A - to cockpit lever
B - to tail tank
C - right side fuselage drive
D - to left fuselage drive
E - right wing drive lever
F - inner wing tank valve,
may be produced without
the slot
G - rib between both tanks
H - outer wing tank valve
inner dump
valve
outer dump
valve

Table of Contents

Related product manuals