EasyManua.ls Logo

Dikai DK-D03S - CASSETTE ASSEMBLY COMPONENTS

Dikai DK-D03S
90 pages
Print Icon
To Next Page IconTo Next Page
To Next Page IconTo Next Page
To Previous Page IconTo Previous Page
To Previous Page IconTo Previous Page
Loading...
Operation Manual
D0 3 S Thermal Transfer Overprinter
- 79 -
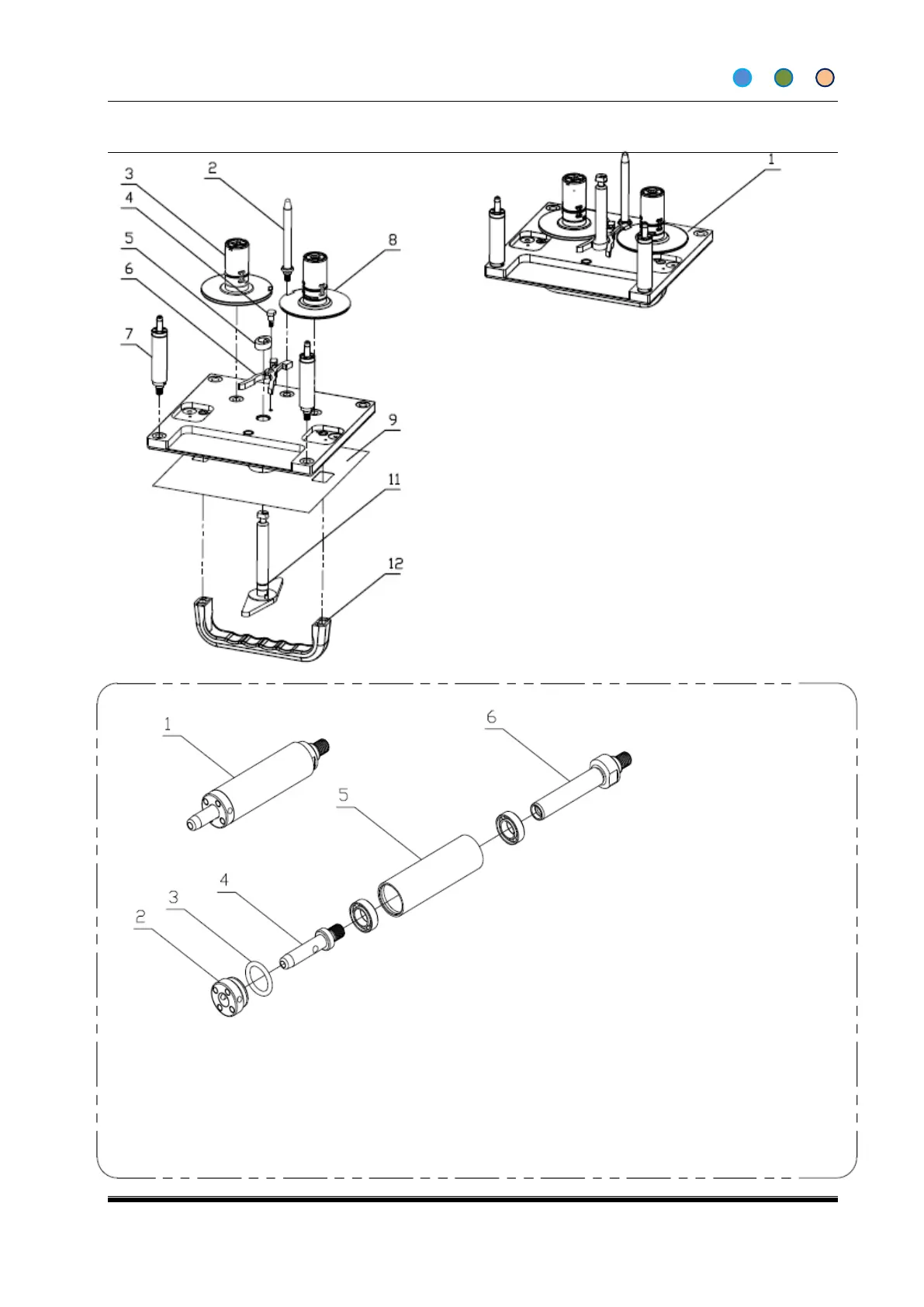
7.2 CASSETTE ASSEMBLY
Item No.
Description
Part No.
Quantity
1
Cassette Assembly (LH)
C03S01000LH
Cassette Assembly (RH)
C03S01000RH
2
Cassette Locating Pin
C03S01007
1
3
Supply Reel Assembly
C03S01012
1
4
Elastic Support Shaft
Y0101029
1
5
Elastic Cam
Y0301028
1
6
Friction Elastic Lever
Y0101027
2
7
Hall Roller Assembly
C0301024L
2
8
Take-up Reel Assembly
C03S01024L
1
9
D03S Cassette Paste
C0101036
1
11
Locking Reel Assembly
C0301003
2
12
Cassette Knob
C0301023
1
Item
No.
Description
Part No.
Qty
1
Hall Roller Assembly (with
screw thread)
C03S01024L
2
Magnetic plate fixing block
assembly
C03S01002L
1
3
O-Ring
Y9900557
1
4
Ribbon Locating Shaft
Y03S01003
1
5
Hall Roller (with screw
thread)
Y03S01025L
1
6
Hall Shaft
Y03S01027
1