EasyManua.ls Logo

Directed Electronics PYTHON 1090 - Page 35

Directed Electronics PYTHON 1090
70 pages
Print Icon
To Next Page IconTo Next Page
To Next Page IconTo Next Page
To Previous Page IconTo Previous Page
To Previous Page IconTo Previous Page
Loading...
© 2006 Directed Electronics—all rights reserved
35
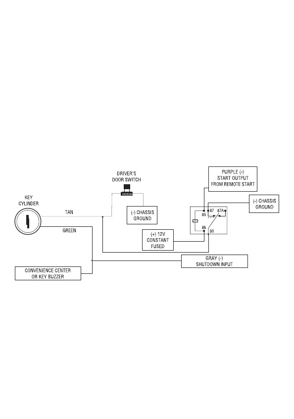
by pressing the brake without the key sense wire shutting down the unit prematurely.
In addition, you must connect a tan (+) shut-down input to the yellow wire on the relay satellite ribbon
cable. This prevents the remote start system from activating if the key is left in the "run" position. If your
remote start system only has one tan input, you must use diodes to isolate the ignition circuit from the
brake switch input.
However, due to future manufacturer changes in vehicles, it is possible that this may not apply to all
vehicles. In addition, color variations are possible from model to model; make sure to test the circuit care-
fully. Please call Directed Electronics Technical Support if you need assistance in making this interface.
IMPORTANT! Once the interface is complete, attempt to remote start the vehicle with the door closed and the
key in the ignition. The vehicle should not start. If it does, recheck the connections.
General Motors trucks, sport utility vehicles and column shifting passenger vehicles:
P r e - 1 9 9 6 D o d g e D a k o t a p i c k u p s wi t h 2 . 5 l i t e r m o t o r s :

Table of Contents

Related product manuals