EasyManua.ls Logo

Directed Electronics PYTHON 1090 - Vehicle Immobilizer Systems

Directed Electronics PYTHON 1090
70 pages
Print Icon
To Next Page IconTo Next Page
To Next Page IconTo Next Page
To Previous Page IconTo Previous Page
To Previous Page IconTo Previous Page
Loading...
© 2006 Directed Electronics—all rights reserved
36
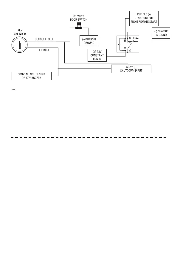
Vehicle immobilizer or key cylinder systems
Most new vehicles have a factory engine immobilizer system designed to prevent any unauthorized use
of the vehicle. These immobilizers will cut off power to the starter and the fuel supply preventing a thief
from starting the vehicle.
Some are basic resistance-based systems that require a correct value resistor embedded in the key to start
the vehicle. Other more advanced transponder based systems read a microchip in the key body allowing the
vehicle to start only after it has confirmed the key is valid by the vehicle ECU.
Attempting to start a vehicle without the correct immobilizer bypass can lock up the vehicle ignition or
fuel system causing a potentially expensive trip the dealership.
Refer to the vehicles owners guide to determine if an engine immobilizer bypass module is required before
attempting to remotely start the vehicle.

Table of Contents

Related product manuals