EasyManua.ls Logo

Excell FJ5 - Chapter 3 Display Controller Instructions (Option); Panel, Keypad and Specification

Excell FJ5
35 pages
Print Icon
To Next Page IconTo Next Page
To Next Page IconTo Next Page
To Previous Page IconTo Previous Page
To Previous Page IconTo Previous Page
Loading...
EXCELL PRECISION CO., LTD.
45046
24
ZSME300000343
Chapter 3 Display Controller Instructions (Option)
3-1 Panel, keypad and specification
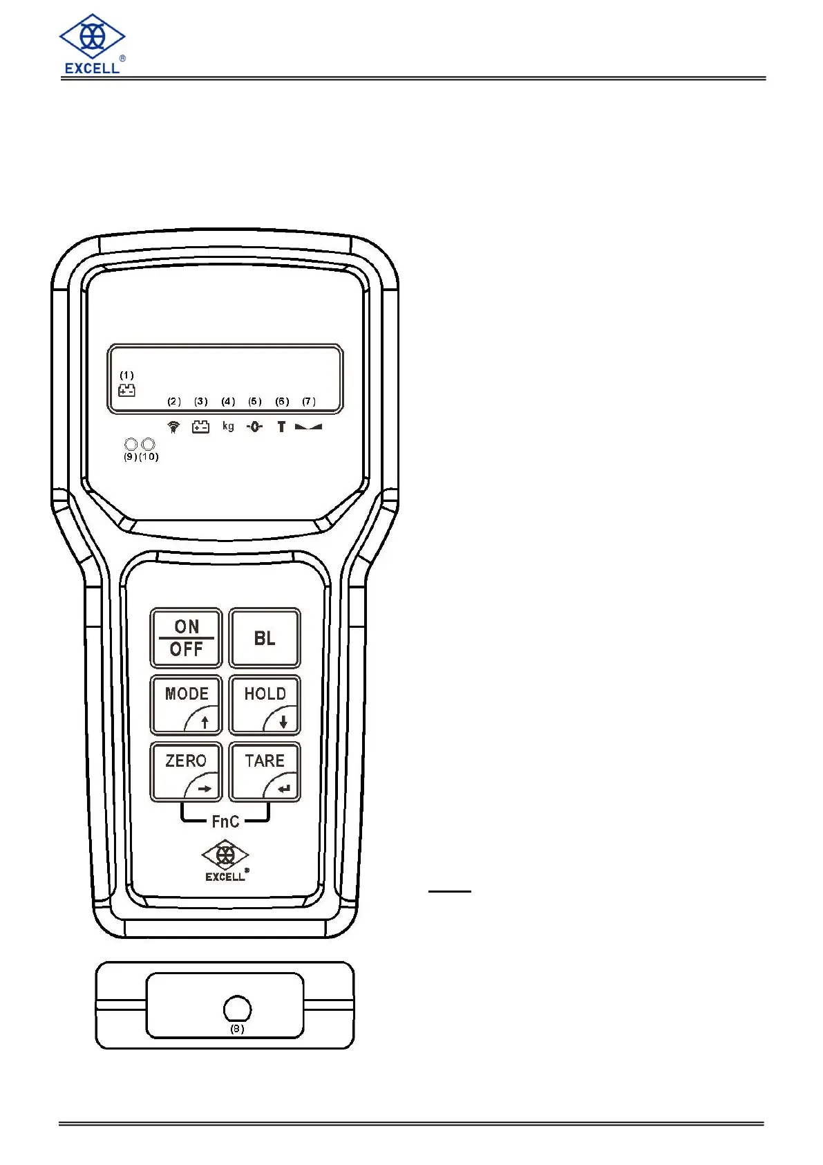
Indication
(1). Low battery indication for display controller
(2). Link between display controller and FJ5
(3). Low battery indication for FJ5
(4). Kg indication
(5). Zero indication
(6). Tare indication
(7). Stable indication
(8). DC 5V jack
(9).Green LED: fully charged
(10).Red LED: charging
Keypad
ON/OFF: turn on/off FJ5 and display controller
together
BL : backlight on/off
MODE : switch units
HOLD : hold the weight value on display
ZERO : zero key/rescan wireless FJ5 during
pairing
TARE : tare key
Specification
Size: 100.5x205x34 mm (width x length x height)
LCD size: 67x18.5 mm; 7 digits, LED backlight
Weight (battery include): 435 g
Battery: 3.7V 1500mAh lithium battery
Power consumption: 1mA (stand-by),
10mA (without backlight),
27mA (backlight)
Time for use: 115 hours (without backlight)
Note:
1. Display Controller's frequency-hopping spread
spectrum can avoid co-channel interference.
2. Tips to extend the life of battery and avoid
being damaged:
a. Battery charging at 0~40
b. If the device is not used for sometime,
please charge at least once in a month.
3. Please avoid using RF Remote Control and
Display Controller at the same time.

Related product manuals