EasyManua.ls Logo

Fancom Aura 14 - Appendix: Connection Diagram Aura 14; Powerboard FCA

Fancom Aura 14
44 pages
Print Icon
To Next Page IconTo Next Page
To Next Page IconTo Next Page
To Previous Page IconTo Previous Page
To Previous Page IconTo Previous Page
Loading...
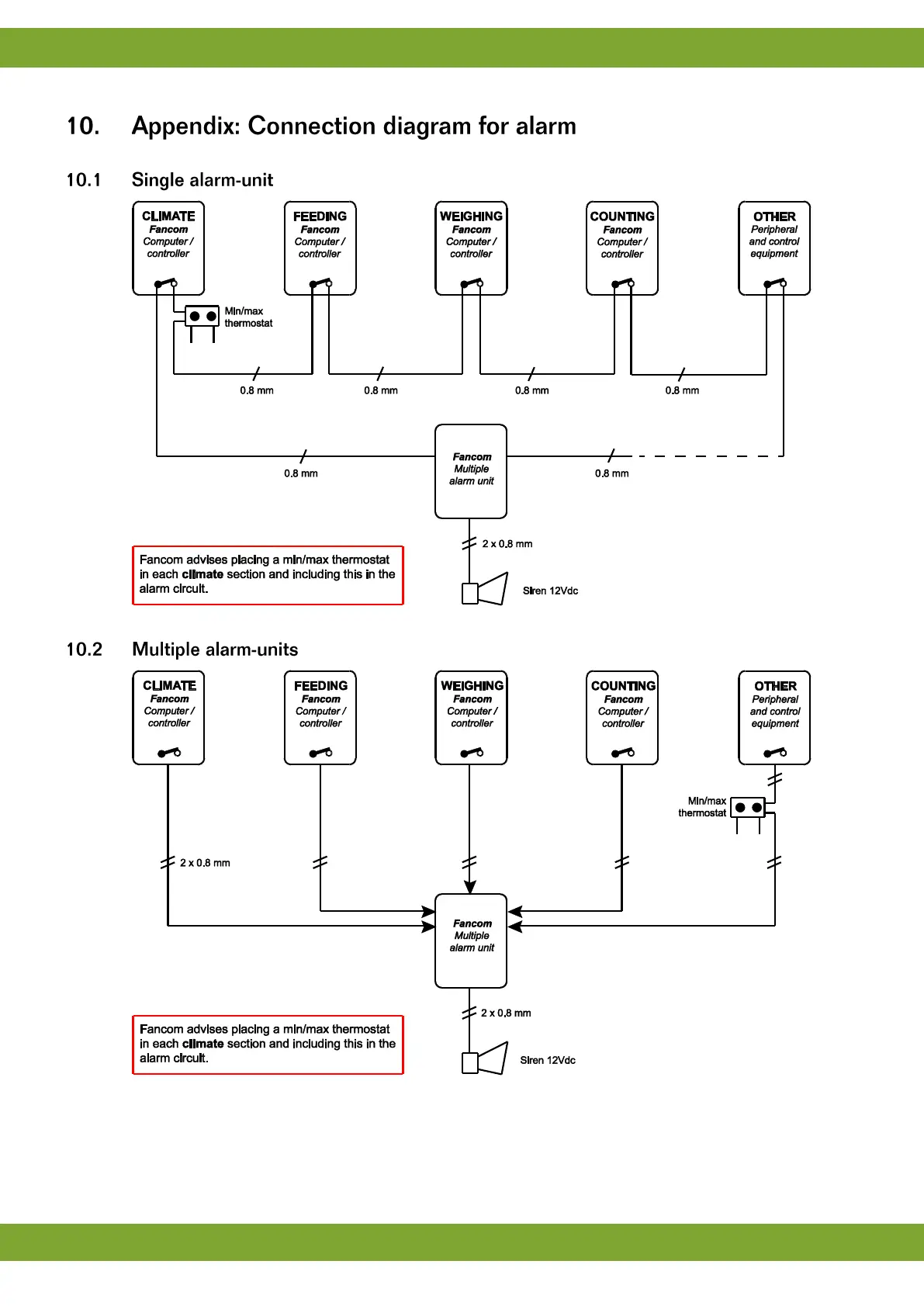
Appendix: Connection diagram for alarm
37

Table of Contents

Related product manuals