EasyManua.ls Logo

Fluke 8842A - Track;Hold Circuit

Fluke 8842A
269 pages
Print Icon
To Next Page IconTo Next Page
To Next Page IconTo Next Page
To Previous Page IconTo Previous Page
To Previous Page IconTo Previous Page
Loading...
8842A
Instruction Manual
5-8
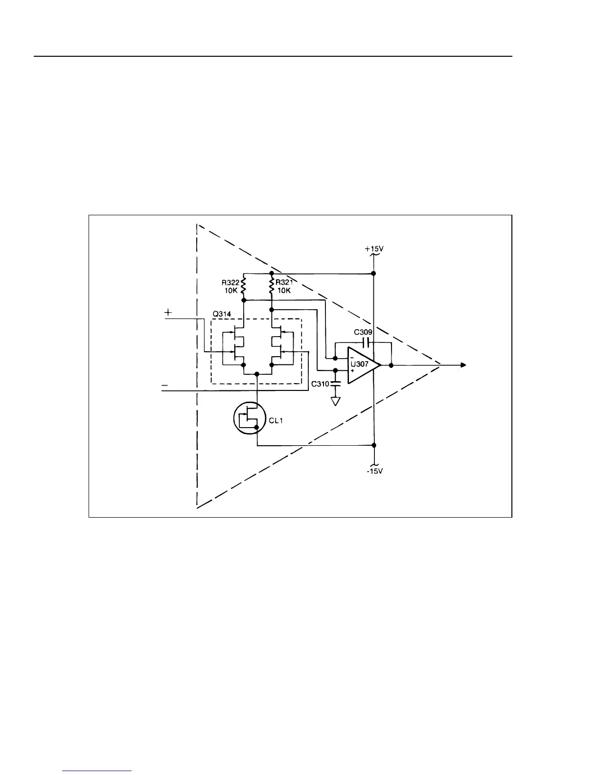
5-9. TRACK/HOLD CIRCUIT
The Track/Hold (T/H) circuit presents a stable voltage to the A/D Converter during the
input period of the A/D conversion cycle. The circuit also provides a gain of 100 in the
20 mV, 20 and 200 mA ranges, and a gain of 10 in the 200 mV dc, 200, and 2000 mA
dc ranges.
The T/H circuit consists of the T/H Amplifier (Figure 5-3), T/H capacitor C308, quad
analog switches U301, U302, and U303, and associated components. As shown in Figure
5-3, the T/H Amplifier functions as an op amp, with Q314 supplying additional gain. In
subsequent figures, the T/H Amplifier is represented as a single op amp.
f5-03.wmf
Figure 5-3. Track/Hold Amplifier
The circuit operates by cycling between the track, settling, hold, and precharge
configurations shown in Figure 5-4. The In-Guard µC selects a particular settling and
hold configuration for each function and range, and suppresses the precharge
configuration for certain ranges. This control is achieved by latching function and range
information in U301, U302, and U303.
Basic timing for the T/H circuit is provided by the A/D Converter over clock lines PC,
HD1, TR1, and TR2. (See the timing diagram in Figure 5-5, top.) The T/H cycle is
initiated when the In-Guard µC pulls line TR low.

Table of Contents

Related product manuals