EasyManua.ls Logo

Four winns FUNSHIP - Page 84

Four winns FUNSHIP
185 pages
Print Icon
To Next Page IconTo Next Page
To Next Page IconTo Next Page
To Previous Page IconTo Previous Page
To Previous Page IconTo Previous Page
Loading...
Owners Manual Page 80Water and Waste Systems - Section J
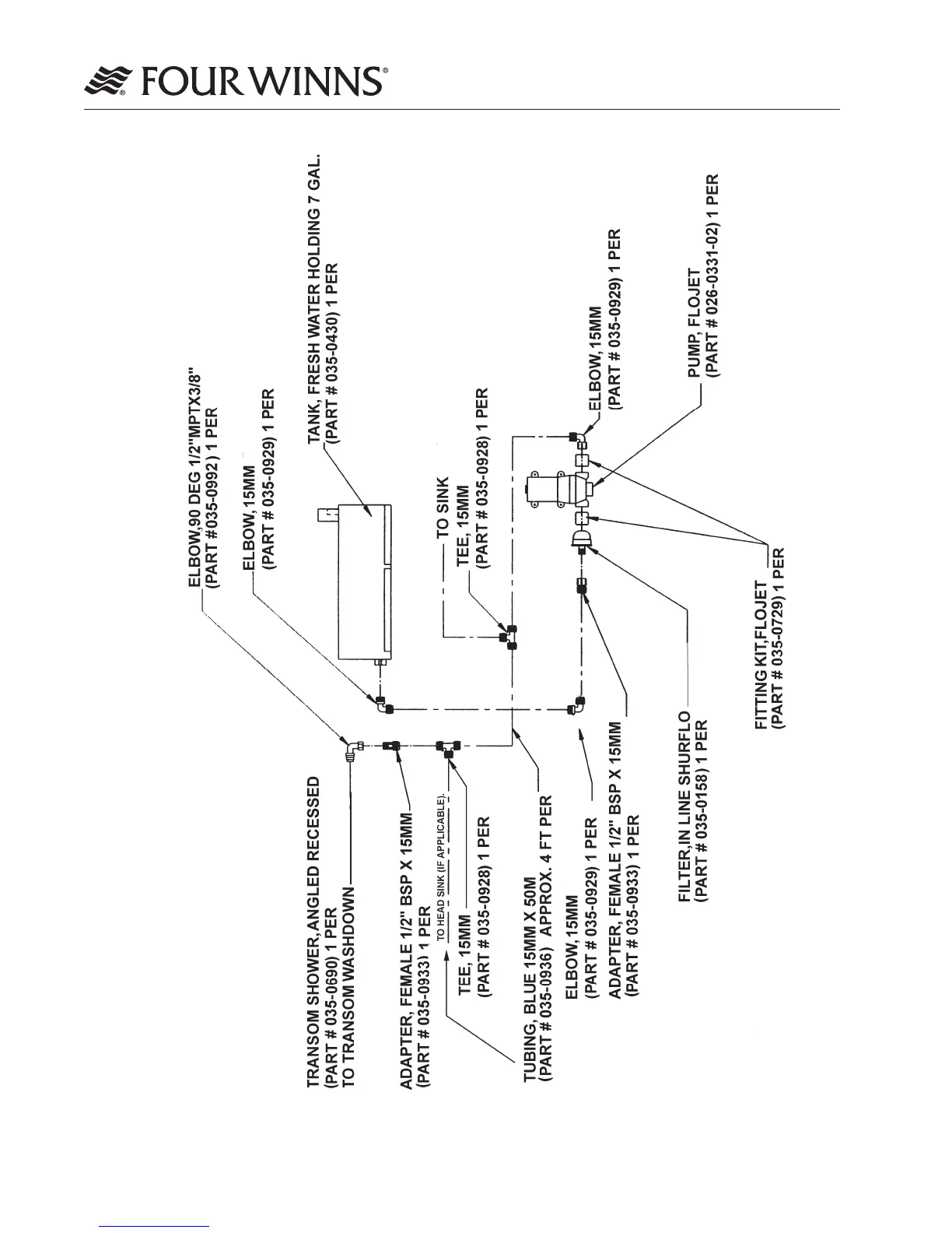
Figure J-12: General Water System Diagram
Water System

Table of Contents

Related product manuals