EasyManua.ls Logo

Fujitsu MCE3064SS - Interface Signal Definition; Interface Signals

Fujitsu MCE3064SS
181 pages
Print Icon
To Next Page IconTo Next Page
To Next Page IconTo Next Page
To Previous Page IconTo Previous Page
To Previous Page IconTo Previous Page
Loading...
C156-E097-01EN 7 - 3
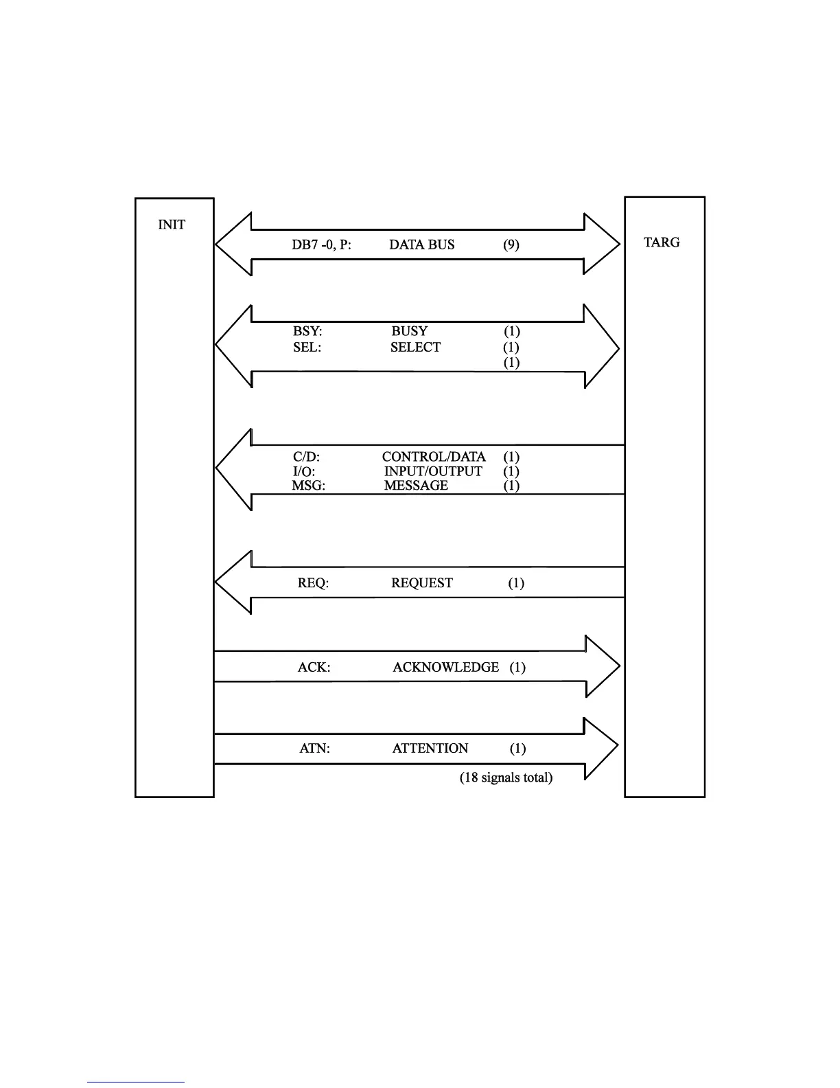
7.2 Interface Signal Definition
There is a total of eighteen signals. Nine are used for control and nine are used for data (1 byte
data + 1 odd parity bit). Figure 7.2 shows interface signal lines.
RST: RESET
Figure 7.2 Interface signals

Table of Contents

Related product manuals